Als het niet gaat zoals het moet, dan moet het maar zoals het gaat.
Blij dat ik heb kunnen helpen!w00key schreef op woensdag 25 januari 2023 @ 18:26:
Aha. En omdat 1 klep klem stond op dicht ging alle lucht uit huis altijd langs de achterste helft van de wisselaar, en helft van de inkomende luchtstroom werd niet opgewarmd.
Dank, ik zocht naar een fysieke bypass kanaal / gat / geul en snapte er niks van.
Dat principe (fysieke bypass) hebben ze bij de comfoair Q serie verlaten om de unit compacter te krijgen en toch een grotere warmtewisselaar kwijt te kunnen.
Helaas heeft dit wel een nadeel: Zodra de "bypass" is ingeschakeld gaan dus die kleppen dicht en moet de lucht door de helft van de warmtewisselaar. Dat geeft nogal wat meer weerstand, wat je terugziet in het energieverbruik. Daardoor verbruikt mijn WTW in de zomermaanden ca 20% meer energie als in de winter.
WP: ME PUHZ-SW75YAA + ERSD-VM2D + EV-WP-TWS-1W 300; AC: ME MXZ-2F42VF + 2x MSZ-LN25VGV; PV: 14.08 kWp O/W + SMA STP 8.0; Vent: Zehnder Q600 ERV + Ubbink AirExcellent.
Intel 14600KF@5,0Ghz | RTX4080 | 32Gb DDR5@6000Mhz
Op dit moment alleen mechanische ventilatie van badkamer en wc (geregeld op beweging en vochtgehalte).
Keuken heeft afzuigkap die bij koken gebruikt wordt. Ventilatieroosters (klein) aan voorzijde en achterzijde van de woning. Boven op wc nog ventilatie-kanaal. CO2 wordt nu gemeten en soms is dat wel schrikken, zeker op de slaapkamers.
Nou viel me vandaag in, dat er vanaf de zolder een houten kolom loopt tot in de kelder. Hier zou ik wel wat leidingen in kwijt kunnen, maar dan vraag ik me nog af hoe ik een en ander ga aanleggen.
Afzuigkap, badkamer- en wc-afzuiging lopen weer door een ander kanaal. Wat wel op de zolder weer in de buurt van die houten kolom uitkomt!
Ik zou dus met een WTW de badkamer en wc kunnen afzuigen, dit is echter een schacht en geen buis.
WTW toevoer zou ik op iedere verdieping vanuit die houten kolom kunnen maken. Echter op de begane grond zit die kolom in gang achter een deur naar de keuken/woonkamer. Zou nog wel iets kunnen maken dat de toevoer in de keuken uitkomt.
Iemand de gouden tip of een goed idee hoe ik hier op een betaalbare manier een WTW zou kunnen aanleggen?
Hmm.. dat sterkt mij in mijn idee 'gewoon' een 600 unit op te hangen. Naast het stillere van ruime capaciteit i.p.v. tot het gaatje gaan, verdien ik 'm dus ook langzaam aan stroomkosten terug, correct?Andrehj schreef op woensdag 25 januari 2023 @ 19:14:
Dat principe (fysieke bypass) hebben ze bij de comfoair Q serie verlaten om de unit compacter te krijgen en toch een grotere warmtewisselaar kwijt te kunnen.
Helaas heeft dit wel een nadeel: Zodra de "bypass" is ingeschakeld gaan dus die kleppen dicht en moet de lucht door de helft van de warmtewisselaar. Dat geeft nogal wat meer weerstand, wat je terugziet in het energieverbruik. Daardoor verbruikt mijn WTW in de zomermaanden ca 20% meer energie als in de winter.
Tov een 450 win je niks. Ze zijn namelijk exact hetzelfde, alleen de software is anders. Als je de 600 m³/h niet nodig hebt kun je net zo goed een 450 kopen.Gwaihir schreef op donderdag 26 januari 2023 @ 14:31:
Hmm.. dat sterkt mij in mijn idee 'gewoon' een 600 unit op te hangen. Naast het stillere van ruime capaciteit i.p.v. tot het gaatje gaan, verdien ik 'm dus ook langzaam aan stroomkosten terug, correct?
WP: ME PUHZ-SW75YAA + ERSD-VM2D + EV-WP-TWS-1W 300; AC: ME MXZ-2F42VF + 2x MSZ-LN25VGV; PV: 14.08 kWp O/W + SMA STP 8.0; Vent: Zehnder Q600 ERV + Ubbink AirExcellent.
In de Q600 zitten motoren met een hogere capaciteit.Andrehj schreef op donderdag 26 januari 2023 @ 16:58:
[...]
Ze zijn namelijk exact hetzelfde, alleen de software is anders.
Alonso over het inhalen in 2026: "it’s more of an evasive manoeuvre than an overtake.”
Toevallig besloten het dit weekend maar alvast te doen, het was 6 maanden geleden.Hertog_Martin schreef op woensdag 25 januari 2023 @ 17:49:
[...]
Hier nog even benieuwd naar: werkt dit echt zo goed zonder nadelen?
Het was ook wel echt nodig, merkte dat er minder debiet was.
Hier de filter in de keuken die ook, ze zien er eigenlijk allemaal zo uit.

Hier opengeknipt.

Het kanaal daarentegen is helemaal schoon

Dus ja het werkt, maar je moet wel opletten dat je debiet nog voldoende is en op tijd de boel vervangen.
Aangezien wij in de keuken de afvoer kanalen verlengd en verlegd hebben moesten we met vlakke kanalen werken in het verlaagd plafond, dat gaan we nooit fatsoenlijk kunnen reinigen.
Als het niet gaat zoals het moet, dan moet het maar zoals het gaat.
Ik was in de stellige veronderstelling dat Zehnder in de Q600 dezelfde motoren gewoon wat harder laat draaien. Weet jij of er ergens een service-handleiding (met onderdeelnummers) te vinden is waarop dat soort zaken uit te vogelen zijn?alexbl69 schreef op donderdag 26 januari 2023 @ 17:11:
In de Q600 zitten motoren met een hogere capaciteit.
Dit: Ik had ooit al eens deze (erg handige) service manual van de Comfoair Q gevonden. Daarin staan allerlei onderhoudsacties beschreven, maar er staan helaas geen onderdeelnummers in:
https://www.zehnder.co.uk...16/118549/en_uk-71511.pdf
[ Voor 23% gewijzigd door Andrehj op 28-01-2023 10:01 ]
WP: ME PUHZ-SW75YAA + ERSD-VM2D + EV-WP-TWS-1W 300; AC: ME MXZ-2F42VF + 2x MSZ-LN25VGV; PV: 14.08 kWp O/W + SMA STP 8.0; Vent: Zehnder Q600 ERV + Ubbink AirExcellent.
Kijk maar in deze pdf: https://www.zehnder.nl/do...onderdelen_comfoair-q.pdfAndrehj schreef op zaterdag 28 januari 2023 @ 09:56:
[...]
Ik was in de stellige veronderstelling dat Zehnder in de Q600 dezelfde motoren gewoon wat harder laat draaien. Weet jij of er ergens een service-handleiding (met onderdeelnummers) te vinden is waarop dat soort zaken uit te vogelen zijn?
Dit: Ik had ooit al eens deze (erg handige) service manual van de Comfoair Q gevonden. Daarin staan allerlei onderhoudsacties beschreven, maar er staan helaas geen onderdeelnummers in:
https://www.zehnder.co.uk...16/118549/en_uk-71511.pdf
De motoren hebben verschillende artikelnummers. Ze hebben ook een verschillend gewicht (staat niet in deze pdf). De motor van de Q450 weegt bruto 3,6kg terwijl die van de Q600 3,7kg weegt. Heb zo geen gegevens over de verdere technische verschillen, maar zou deze wel op kunnen vragen.
Maar neem van mij aan dat ze verschillend zijn. De Q450 is de afgelopen 1,5 jaar ook veel slechter leverbaar geweest dan de Q600. Op een gegeven moment liep de Q600 wel aardig door, terwijl de Q450 pas nu mondjesmaat binnen begint te komen.
Alonso over het inhalen in 2026: "it’s more of an evasive manoeuvre than an overtake.”
Ik heb onze Zehnder Q600 op AUTO stand staan. Ik zou STAP 2 willen terug throttlen om het geluidsniveau wat te verlagen uit de ventielen. Heeft iemand hier wellicht een stappenplannetje voor?
RTFM? (Zit achter de klep van de unit)DJR schreef op zaterdag 28 januari 2023 @ 10:51:
Ik zou STAP 2 willen terug throttlen om het geluidsniveau wat te verlagen uit de ventielen. Heeft iemand hier wellicht een stappenplannetje voor?
WP: ME PUHZ-SW75YAA + ERSD-VM2D + EV-WP-TWS-1W 300; AC: ME MXZ-2F42VF + 2x MSZ-LN25VGV; PV: 14.08 kWp O/W + SMA STP 8.0; Vent: Zehnder Q600 ERV + Ubbink AirExcellent.
Ik ben druk aan het uitzoeken hoe ik balansventilatie krijg in mijn toekomstige huis (jaren 30, met praktijk erbij). Volgens de berekeningen heb ik zo'n 570m3/h nodig. Buizen op de begane grond en in de praktijk zijn geen probleem. De eerste verdieping is ook nog te doen. De tweede verdieping wordt alleen lastig als ik ze mooi wil wegwerken.
Ik zit de denken aan een hybride variant tussen een twee zone wtw (bv Orcon HRC-570) icm met mixfan systeem van Brink (https://www.brinkclimates...vraaggestuurde-ventilatie). De gedachte is dat zone 1 de woonkamer en de praktijk zijn waar overdag eigenlijk continu verse lucht nodig is. Zone 2 zou dan gebruikt worden icm 4 mixfan (1 per slaapkamer).
Zou zo iets werken? Alvast bedankt voor de reacties.
1 groot centraal systeem zal veel teveel hak en breekwerk gaan kosten.
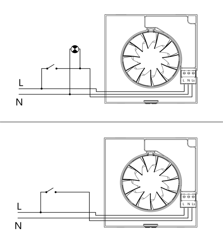
Wat is precies je vraag? Bruin fase, blauw nul en groen geel aarde lijkt me duidelijk. Switch live staat beschreven op pagina 8 van het manual waar jou plaatje denk uit komt.Her20 schreef op zondag 29 januari 2023 @ 10:49:
Ha allen, ik heb de EnergiSava 250 S&P WTW gekocht, daar zit onderstaande beschrijving bij qua elektrische aansluiting. Nu snap ik de basis van elektra, maar hier kom ik niet uit. Heeft iemand aanvullende instructies?
[Afbeelding]
Betreft de activering van boost functie bij bv aanschakelen licht in de badkamer 😉
Ja, dat is onduidelijk van mij geformuleerd. Het ging mij er om; op welke schakelaar of stekker sluit ik de kabel van de wtw aan. Op een gewone stekker kan ik die switch live niet kwijt, of leg ik die separaat naar het betreffende licht bijv. van de badkamer? Of sluit ik alle vier de draden aan op een opbouwdoos met een tweepolige schakelaar? Waarbij ik de draden uit de muur normaal aansluit en de wtw kabel toevoeg.Maurice1066 schreef op zondag 29 januari 2023 @ 12:24:
[...]
Wat is precies je vraag? Bruin fase, blauw nul en groen geel aarde lijkt me duidelijk. Switch live staat beschreven op pagina 8 van het manual waar jou plaatje denk uit komt.
Betreft de activering van boost functie bij bv aanschakelen licht in de badkamer 😉
De instructies die op papier meegeleverd wordt is trouwens net iets anders dan ik net liet zien. Zie de eerste zin over de tweepolige schakelaar. Kortom, wellicht is mijn basiskennis dus iets TE basis 😬.
Die instructie op papier zegt daar aan het begin dat hij op een (werk)schakelaar moet worden aangesloten om 'm stroomloos te kunnen maken en dan bij dat uitroepteken zou je ineens toch een stekker moeten hebben om eruit te trekken. Beide prima oplossingen, maar het gaat niet samen. Goed dat dat is rechtgetrokken.Her20 schreef op zondag 29 januari 2023 @ 14:25:
De instructies die op papier meegeleverd wordt is trouwens net iets anders dan ik net liet zien. Zie de eerste zin over de tweepolige schakelaar. Kortom, wellicht is mijn basiskennis dus iets TE basis 😬.
Kan me voorstellen dat het verwarring wekt, als je toch al aan het uitzoeken bent hoe het zit met die 'switch live'. Afijn: aarde sluit je dus altijd aan. Fase en nul ofwel met een goede werkschakelaar (een tweepolige schakelaar die..), of je doet dat samen met aarde via een stekker.
En die switch live dus via een schakelaar. Daarmee zet je 'm harder of zo? Wat daar dan ook niet bij staat: het lijkt me dat je de inputzijde (de linkerzijde) via dezelfde werkschakelaar of stekker aan de fase aansluit. Anders staat er toch nog ineens stroom op het stroomloos gemaakte apparaat..
Even aan het licht van de badkamer hangen, lijkt mij er daarom niet bij. Ook zou je dan zo ineens stroom van verschillende groepen (of zelfse fases) op het apparaat kunnen hebben staan. Dat eerste is gevaarlijk bij onderhoud. Bij dat tweede ontsnapt vermoedelijk de rook. (Rook ken ik als een essentieel onderdeel van elk elektrisch apparaat, want is die ontsnapt, dan is het apparaat vrijwel altijd defect
Voor nu lijkt me het meest logisch dat ik er een stekker aan zet. Maar dan blijft het echt een raadsel hoe ik die switch live aansluit. (Die switch live is een boost functie, kan je 20 minuten op vol vermogen laten draaien) Dus die moet de reguliere stand even kunnen omzeilen en vol gas geven.Gwaihir schreef op zondag 29 januari 2023 @ 14:38:
[...]
Die instructie op papier zegt daar aan het begin dat hij op een (werk)schakelaar moet worden aangesloten om 'm stroomloos te kunnen maken en dan bij dat uitroepteken zou je ineens toch een stekker moeten hebben om eruit te trekken. Beide prima oplossingen, maar het gaat niet samen. Goed dat dat is rechtgetrokken.
Kan me voorstellen dat het verwarring wekt, als je toch al aan het uitzoeken bent hoe het zit met die 'switch live'. Afijn: aarde sluit je dus altijd aan. Fase en nul ofwel met een goede werkschakelaar (een tweepolige schakelaar die..), of je doet dat samen met aarde via een stekker.
En die switch live dus via een schakelaar. Daarmee zet je 'm harder of zo? Wat daar dan ook niet bij staat: het lijkt me dat je de inputzijde (de linkerzijde) via dezelfde werkschakelaar of stekker aan de fase aansluit. Anders staat er toch nog ineens stroom op het stroomloos gemaakte apparaat..
Even aan het licht van de badkamer hangen, lijkt mij er daarom niet bij. Ook zou je dan zo ineens stroom van verschillende groepen (of zelfse fases) op het apparaat kunnen hebben staan. Dat eerste is gevaarlijk bij onderhoud. Bij dat tweede ontsnapt vermoedelijk de rook. (Rook ken ik als een essentieel onderdeel van elk elektrisch apparaat, want is die ontsnapt, dan is het apparaat vrijwel altijd defect.)
Nog even puzzelen. Wellicht heeft iemand hier nog advies.
Die zwarte 'live switch' draad kan je op volgende manier gebruiken om de boost functie te activeren als je het licht aandoet. Hiervoor moet je de lamp aansluiten met die zwarte draad als fase draad en de blauwe nuldraad van de aansluiting wtw. Die lamp wordt dus ook gevoed door de WTW. Staat ook mooi '230v' voeding op schema van printbord in handleiding en verwijzing naar max 3A zekering en die WTW verbruikt geen 690 Watt.Her20 schreef op zondag 29 januari 2023 @ 20:41:
[...]
Voor nu lijkt me het meest logisch dat ik er een stekker aan zet. Maar dan blijft het echt een raadsel hoe ik die switch live aansluit. (Die switch live is een boost functie, kan je 20 minuten op vol vermogen laten draaien) Dus die moet de reguliere stand even kunnen omzeilen en vol gas geven.
Nog even puzzelen. Wellicht heeft iemand hier nog advies.
Let wel het is OPTIONEEL, dus je moet die draad niet aansluiten.
Voor een voorbeeld, zie schema's van S&P badkamerventilatoren heironder waarbij L1 je zwarte draad is. Let wel op, als je lamp geaard moet zijn dan ook de aardingsdraad verbinden! Deze ventilatoren in voorbeeld zijn dubbel geïsoleerd en hebben dus geen aardingsaansluiting.
Bovenaan met lamp en schakelaar en onderaan schema met alleen schakelaar.
[ Voor 25% gewijzigd door c-mattic op 29-01-2023 21:31 ]
Zijn er meer mensen die deze gebruiken? Wat zijn jullie ervaringen met deze gevelkap en hebben jullie toevallig een foto hoe deze er uit ziet aan een woning?
WTW condenswater probleem
In de Zehnder handleiding raden ze aan stand 2 te programmeren op 60% van het bouwbesluit en stand 3 op 100% van het bouwbesluit.
Hoe hebben jullie het staan? Ik zie ook dat het verbruik sterk stijgt naarmate je meer ventilatie vraagt, dus waar ligt de grens tussen goede lucht kwaliteit en voldoende ventilatie?
Ik heb in mijn huidige woning 2 Awair Element CO2 meter die mee verhuizen, dus zoek ik dan de laagste stand op waarbij de maximaal tot 1000ppm gaan in de woonkamer en slaapkamers?
30x Jinko JKM380M-6RL3 (11.4kWp) 12x oost 90° - 18x west 270°, 45° incl. | Marstek Venus-E V2 + V3 | Vaillant Arotherm 75/5 | Zehnder ComfoAir Q450 | Tesla Model 3 Performance 2025
Bouwbesluit moet je snel vergeten.Broodro0ster schreef op maandag 30 januari 2023 @ 16:34:
In de Zehnder handleiding raden ze aan stand 2 te programmeren op 60% van het bouwbesluit en stand 3 op 100% van het bouwbesluit.
Zit een niet geheel logische denkwijze achter.
Ik zou gewoon kijken naar hoeveel mensen er in een ruimte leven/slapen/recreëren en daar de luchtverversingscapaciteit op aanpassen.
Dat heb ik wel gedaan. In de praktijk blijkt dat aardig overeen te komen met 25 m³/h per persoon.Broodro0ster schreef op maandag 30 januari 2023 @ 16:34:
Hoe snel draait jullie ventilatie unit? Onze Zehnder Q450 is vorige week geïnstalleerd in onze nieuwbouw woning.
In de Zehnder handleiding raden ze aan stand 2 te programmeren op 60% van het bouwbesluit en stand 3 op 100% van het bouwbesluit.
Hoe hebben jullie het staan? Ik zie ook dat het verbruik sterk stijgt naarmate je meer ventilatie vraagt, dus waar ligt de grens tussen goede lucht kwaliteit en voldoende ventilatie?
Ik heb in mijn huidige woning 2 Awair Element CO2 meter die mee verhuizen, dus zoek ik dan de laagste stand op waarbij de maximaal tot 1000ppm gaan in de woonkamer en slaapkamers?
Alleen in de woonkamer hangt een CO2-sensor die de WTW harder laat draaien als er bezoek is. Als we met z'n vieren zijn komt de CO2 nauwelijks hoger dan 800 ppm.
WP: ME PUHZ-SW75YAA + ERSD-VM2D + EV-WP-TWS-1W 300; AC: ME MXZ-2F42VF + 2x MSZ-LN25VGV; PV: 14.08 kWp O/W + SMA STP 8.0; Vent: Zehnder Q600 ERV + Ubbink AirExcellent.
Geen idee op hoeveel % onze unit draait, waardes van het bouwbesluit heb ik nooit naar omgekeken. Ik heb de boel ingeregeld op stand 2 op basis van CO2-metingen als we met ons tweeën aanwezig zijn. Oftewel in alle ruimtes blijft met twee personen in stand 2 de CO2 netjes onder of rond de 800.Broodro0ster schreef op maandag 30 januari 2023 @ 16:34:
Hoe snel draait jullie ventilatie unit? Onze Zehnder Q450 is vorige week geïnstalleerd in onze nieuwbouw woning.
In de Zehnder handleiding raden ze aan stand 2 te programmeren op 60% van het bouwbesluit en stand 3 op 100% van het bouwbesluit.
Hoe hebben jullie het staan? Ik zie ook dat het verbruik sterk stijgt naarmate je meer ventilatie vraagt, dus waar ligt de grens tussen goede lucht kwaliteit en voldoende ventilatie?
Ik heb in mijn huidige woning 2 Awair Element CO2 meter die mee verhuizen, dus zoek ik dan de laagste stand op waarbij de maximaal tot 1000ppm gaan in de woonkamer en slaapkamers?
Op dit moment heb ik het met Home Assistant zo ingesteld: komt de CO2 over de 1200 dan gaat hij naar stand 3. Komt de CO2 onder de 600 dan gaat hij naar stand 1. Daartussen is het stand 2. Dat lijkt vooralsnog een goed werkbaar script waarmee de unit nooit harder draait dan nodig.
Al zijn deze waardes overigens nog niet in beton gegoten, onlangs hanteerde ik als ondergrens voor stand 2 nog 500 maar daarmee bleek de unit toch met 1 persoon aanwezig al in stand 2 te blijven hangen, en dat leek me toch wat overkill. De bovengrens van 1200 heb ik nog in beraad, mogelijk dat ik dat later nog wat naar beneden bijstel waardoor de unit sneller naar stand 3 zal gaan bij bezoek. Ik probeer steeds een instelling en laat dat vervolgens een paar weken zo staan om te kijken hoe het systeem zich gedraagt onder verschillende omstandigheden qua bezoek.
[ Voor 17% gewijzigd door Glenfiddich op 30-01-2023 17:02 ]
Catch a smile out there!
Onze ventilatie hebben ze ingeregeld hebben op 205m3/h, wat ongeveer 50% is van het Belgisch bouwbesluit.Glenfiddich schreef op maandag 30 januari 2023 @ 16:56:
[...]
Geen idee op hoeveel % onze unit draait, waardes van het bouwbesluit heb ik nooit naar omgekeken. Ik heb de boel ingeregeld op stand 2 op basis van CO2-metingen als we met ons tweeën aanwezig zijn. Oftewel in alle ruimtes blijft met twee personen in stand 2 de CO2 netjes onder of rond de 800.
Op dit moment heb ik het met Home Assistant zo ingesteld: komt de CO2 over de 1200 dan gaat hij naar stand 3. Komt de CO2 onder de 600 dan gaat hij naar stand 1. Daartussen is het stand 2. Dat lijkt vooralsnog een goed werkbaar script waarmee de unit nooit harder draait dan nodig.
Al zijn deze waardes overigens nog niet in beton gegoten, onlangs hanteerde ik als ondergrens voor stand 2 nog 500 maar daarmee bleek de unit toch met 1 persoon aanwezig al in stand 2 te blijven hangen, en dat leek me toch wat overkill. De bovengrens van 1200 heb ik nog in beraad, mogelijk dat ik dat later nog wat naar beneden bijstel waardoor de unit sneller naar stand 3 zal gaan bij bezoek. Ik probeer steeds een instelling en laat dat vervolgens een paar weken zo staan om te kijken hoe het systeem zich gedraagt onder verschillende omstandigheden qua bezoek.
Stand 3 is 100% (420m3/h), maar het opgenomen vermogen is erg hoog dan als ik de spec sheet bekijk. Nog niet getest in de praktijk.
De kinderkamers zijn op 50m3/h gerekend en die van de ouders op 67m3/h. Dit is natuurlijk op papier... Ik denk dat in de praktijk dan beter meer geventileerd wordt op de kamer van de ouders en minder op de kinderkamers. Zodat we aan 25m3/h per persoon komen met de ventilatie wat zachter.
Bedankt voor ervaring te delen. Ik ben ook een HA gebruiker en zag dat ze van Zehnder een netwerk module hebben. En HA heeft er een officiële component voor. Ik denk er aan om evt. nog die module aan te schaffen en het te regelen op jouw manier. Dat lijkt dus goed te werken als ik het zo hoor.
Misschien na de verhuis eerst maar eens alles in kaart met mijn Awair Element toestellen en dan evt. de netwerk module aanschaffen van Zehnder.
Het lijkt me tevens ook niet slecht om alle ventielen opnieuw af te stellen of op z'n minst na te meten. Want ik weet niet hoe nauwkeurig de bouwfirma's zoiets afstellen...
30x Jinko JKM380M-6RL3 (11.4kWp) 12x oost 90° - 18x west 270°, 45° incl. | Marstek Venus-E V2 + V3 | Vaillant Arotherm 75/5 | Zehnder ComfoAir Q450 | Tesla Model 3 Performance 2025
Ik ben nog helemaal niet thuis in zaken als Home Assistant.Glenfiddich schreef op maandag 30 januari 2023 @ 16:56:
Op dit moment heb ik het met Home Assistant zo ingesteld: komt de CO2 over de 1200 dan gaat hij naar stand 3. Komt de CO2 onder de 600 dan gaat hij naar stand 1. Daartussen is het stand 2. Dat lijkt vooralsnog een goed werkbaar script waarmee de unit nooit harder draait dan nodig.
Maar moet ik met de installatie van mijn Zehnder hier al rekening mee houden?
Of kan ik dit later zonder te breken of sleuven te frezen nog ergens aansluiten?
Je kan met deze unit je comfoair op het netwerk aansluiten. Hiervoor heb je wel bekabeld netwerk nodig bij de box.Rzaan schreef op dinsdag 31 januari 2023 @ 05:54:
[...]
Ik ben nog helemaal niet thuis in zaken als Home Assistant.
Maar moet ik met de installatie van mijn Zehnder hier al rekening mee houden?
Of kan ik dit later zonder te breken of sleuven te frezen nog ergens aansluiten?
En toen was je me kwijtThePsycho schreef op dinsdag 31 januari 2023 @ 06:12:
[...]
Je kan met deze unit je comfoair op het netwerk aansluiten. Hiervoor heb je wel bekabeld netwerk nodig bij de box.
Ik moet me er echt in gaan verdiepen, zie ik wel.
Dat zal van je unit afhangen, je zult hem dan op de één of andere manier vanuit Home Assistant (of een ander systeem) moeten kunnen aansturen, en je zult sensoren nog hebben die je in Home Assistant kunt uitlezen zodat je iets hebt op basis waarvan je de unit instructies kan geven.Rzaan schreef op dinsdag 31 januari 2023 @ 05:54:
[...]
Ik ben nog helemaal niet thuis in zaken als Home Assistant.
Maar moet ik met de installatie van mijn Zehnder hier al rekening mee houden?
Of kan ik dit later zonder te breken of sleuven te frezen nog ergens aansluiten?
In mijn geval is er een wifi module beschikbaar die ik op de unit kan aansluiten waardoor deze aan het netwerk gekoppeld wordt en uit te lezen is in Home Assistant, en die de afstandsbediening van de unit kan emuleren zeg maar.
In Home Assistant lees ik mijn CO2 sensoren uit, en op basis daarvan geeft Home Assistant aan de wifi module het commando om de unit op stand 1, 2 of 3 te zetten.
edit: het kan natuurlijk ook zijn dat er voor je unit gewoon kant-en-klare oplossingen te koop zijn in de vorm van CO2-sensoren die je kan koppelen aan je unit. In mijn geval had dat ook wel gekund, maar die dingen waren duur (terwijl ik al CO2 sensoren heb), slecht leverbaar en hadden maar heel weinig instelmogelijkheden.
Als het niet mogelijk is om een bekabeld netwerk helemaal van de unit naar je router aan te leggen zou je natuurlijk ook nog een wifi bridge kunnen plaatsen in de buurt van je unit. Dan hoef je alleen maar een kort kabeltje te leggen naar die bridge.ThePsycho schreef op dinsdag 31 januari 2023 @ 06:12:
[...]
Je kan met deze unit je comfoair op het netwerk aansluiten. Hiervoor heb je wel bekabeld netwerk nodig bij de box.
[ Voor 8% gewijzigd door Glenfiddich op 31-01-2023 07:44 ]
Catch a smile out there!
Die box is voor een Zehnder Q350/450/600. Ik heb de documentatie al bekeken en het is 4 draadjes aansluiten voor zover ik kon zien + ethernet kabel inpluggen. Stelt dus niet veel voor eigenlijk.Rzaan schreef op dinsdag 31 januari 2023 @ 06:49:
[...]
En toen was je me kwijt
Ik moet me er echt in gaan verdiepen, zie ik wel.
30x Jinko JKM380M-6RL3 (11.4kWp) 12x oost 90° - 18x west 270°, 45° incl. | Marstek Venus-E V2 + V3 | Vaillant Arotherm 75/5 | Zehnder ComfoAir Q450 | Tesla Model 3 Performance 2025
Nu lijkt het er op dat de toevoer ventilator niet draait, via het menutje zie ik ook dat het toerental op 0 staat, hij lijkt echter wel te werken, want met even de stekker er uit en in doen slaat die wel aan en dan komt er ook lucht uit de ventielen, helaas stopt die er naar 5 minuten dan weer mee.
Is dit hoe de unit hoort te werken, slaat die misschien sporadisch aan? of is er iets mis mee?
Afvoer fan werkt wel gewoon en staat continue aan.
Kan je via die box ook de aangesloten co2 sensoren uitlezen?Broodro0ster schreef op dinsdag 31 januari 2023 @ 09:49:
[...]
Die box is voor een Zehnder Q350/450/600. Ik heb de documentatie al bekeken en het is 4 draadjes aansluiten voor zover ik kon zien + ethernet kabel inpluggen. Stelt dus niet veel voor eigenlijk.
Ik ben hier zelf nog niet mee bezig gegaan maar zal binnenkort dit projectje eens omzetten in een echt printje en deze bestellen. Als dat dan allemaal goed werkt zal ik het hier melden en dan mogen de belangstellende ze overnemen. (hoef er niks aan de verdienen maar moet er minimaal 10 bestellen dus zal leuk zijn als ik mijn eigen kosten kan drukken).
Er is ook iemand bezig om dit project om te zetten naar een bekabelde versie. Die wil ik zelf ook gebruiken dus als die beschikbaar is zal ik die ook bestellen en testen.
Dit is overigens een ander probleem dan de lekkages bij de Renovent via de bodemplaat (zie de filmpjes van Zenman). Bij de Flair wordt het vocht afgevoerd naar buiten en zijn de naden tussen de schuimdelen in het apparaat allemaal afgekit.
Dat durf ik niet te zeggen. Ik weet wel dat je via die LAN box heel veel sensor informatie van de unit binnen krijgt in HA zoals temperaturen, vochtigheid van de 4 richtingen etc. Maar hoe het zit met optionele accessoires weet ik niet. Als ze in de app zichtbaar zijn, wellicht ook in HA.Luqq schreef op dinsdag 31 januari 2023 @ 10:42:
[...]
Kan je via die box ook de aangesloten co2 sensoren uitlezen?
30x Jinko JKM380M-6RL3 (11.4kWp) 12x oost 90° - 18x west 270°, 45° incl. | Marstek Venus-E V2 + V3 | Vaillant Arotherm 75/5 | Zehnder ComfoAir Q450 | Tesla Model 3 Performance 2025
Ik heb hier zeker interesse in. Heb al zo`n 9 maanden een Comfoconnect voor onze Q350 in bestelling staan. Maar een MQTT bridge voor een leuk prijsje is vele malen interessanterSkullboyNL schreef op dinsdag 31 januari 2023 @ 10:53:
Om de Zehnder Q via wifi te koppelen aan Ha is er ook een ESP project beschikbaar. https://github.com/vekexasia/comfoair-esp32
Ik ben hier zelf nog niet mee bezig gegaan maar zal binnenkort dit projectje eens omzetten in een echt printje en deze bestellen. Als dat dan allemaal goed werkt zal ik het hier melden en dan mogen de belangstellende ze overnemen. (hoef er niks aan de verdienen maar moet er minimaal 10 bestellen dus zal leuk zijn als ik mijn eigen kosten kan drukken).
Er is ook iemand bezig om dit project om te zetten naar een bekabelde versie. Die wil ik zelf ook gebruiken dus als die beschikbaar is zal ik die ook bestellen en testen.
Ik sta op het punt om een DucoBox Energy Comfort D325 (0000-4649) te bestellen.Plexxodus schreef op maandag 7 november 2022 @ 12:31:
Goedemiddag allen,
Met onze aanstaande verbouwing (aanbouw) en het gasloos maken van onze woning ben ik inmiddels aanbeland bij het onderdeel balansventilatie. Aangezien ik bij alle installateurs geen respons krijg ben ik zelf maar in dit topic gedoken en tot de volgende opzet gekomen.
WTW wordt voor de begane grond apart aangelegd. Bovenverdiepingen worden op een later tijdstip op een aparte WTW aansloten (meteen een mooie zonering).
Benedenverdieping, totaal: 91 m2
Woonkamer/keuken (open), totaal: 71 m2
Huishouden: 4 personen
Benodigde ventilatie:
berekend op personen (+1 als buffer) = 150m3
berekend op bouwbesluit = 233m3
Vraag 1) Is uitgaan van 150m3 voldoende?
Mijn huidige uitwerking is gebaseerd op een gemiddelde van 2 bovenstaande uitkomsten.
[Afbeelding]
Vraag 2) Is een ventilatieunit van 200m3 voldoende of is toch minimaal 250/300m3 aan te raden i.v.m. lagere luchtstroom?
Voor het plaatsen ga ik gebruik maken van het verlaagde plafond. Hierbij gebruik ik voor de ventielen in het plafond per ventiel 2x Ubbink Air Excellent. De 3 ventielen nabij de WTW worden rechtstreeks door de muur gevoerd.
Aan en afvoer gaat via de buitenmuur.
Hiermee kom ik op het volgende legplan:
[Afbeelding]
Het enige probleem wordt misschien de stalen balk die over de gehele lengte van de doorbraak loopt waardoor ik misschien geen aanvoer tot in de aanbouw kan krijgen. Vandaar dat voor nu de aanvoerventielen net voor de balk zijn ingetekend.
Vraag 3) Zijn er nog verbetering te behalen in het legplan?
Alvast bedankt voor jullie feedback.
Iemand nog eventueel zwaarwegende bezwaren om het niet te doen?
Itho Daalderop Amber 95 WP (all-electric)
Quatt Duo V1 - 3kw BUH - VVW en LTV - WPB: Atlantic Explorer V5 - PV: uit 2026 1030WP met Zendure S800 plus - PV: uit 2012 2400WP met Goodwe XS2200
Plan is om van de wtw in de bijkeuken (via demper) met spiro naar begane grond, 1e verdieping en zolder te gaan. Op bg en 1e wil ik dan vanaf de spiro een verdeelbox zetten en naar de kamers gaan met slang. Zolder is maar 1 ruimte dus kan een ventiel op het eind vd Spiro krijgen.
Yep hier ook interesse!!SkullboyNL schreef op dinsdag 31 januari 2023 @ 10:53:
Om de Zehnder Q via wifi te koppelen aan Ha is er ook een ESP project beschikbaar. https://github.com/vekexasia/comfoair-esp32
Ik ben hier zelf nog niet mee bezig gegaan maar zal binnenkort dit projectje eens omzetten in een echt printje en deze bestellen. Als dat dan allemaal goed werkt zal ik het hier melden en dan mogen de belangstellende ze overnemen. (hoef er niks aan de verdienen maar moet er minimaal 10 bestellen dus zal leuk zijn als ik mijn eigen kosten kan drukken).
Er is ook iemand bezig om dit project om te zetten naar een bekabelde versie. Die wil ik zelf ook gebruiken dus als die beschikbaar is zal ik die ook bestellen en testen.
Ik heb al een printje ontworpen en die staat klaar om bestelt te worden. Er zijn nu wat componenten onderweg om te testen of dit ontwerp werkt als dat werkt bestel ik de eerste lading printjes. Dan laat ik hier wel weten of het werkt.
Ik heb een Zehnder comfoair e400 en heb wel eens vaker groepen aan/uit gezet en was altijd rond de 24 watt.
Nu had ik alleen net een verbruik van 1800watt oid
Geen idee of die dat structureel doet maar ik wist niet eens dat die het kon. Ik was toevallig bezig met Warmtepomp en het viel mij op dat ik nog 1800 watt pakte terwijl alles uit stond. Pas toen ik de stekker van de WTW eruit trok zakte het verbruik naar negatief (panelen).
Toen ik de stekker er terug in deed was het hoge verbruik weg en ging die weer op zn normale 25 watt.
Waardes uit het menu zijn dus ook van toen hij weer normaal verbruikte:
Waardes uit menu:
Temp buitenlucht: 9gr
Temp v verwarmer: 9gr
Temp toevoerlucht: 19.5gr
Temp retour: 21gr
Temp afvoer: 11gr
Toevoer fan: 182 m3/h (1399rpm)
AFvoer fan: 186m3/h (1452rpm)
Open haard modus actief: Ja
Standenschakelaar: aan
Voor verw. aan: ja
@roltor
mijn gok is dat het de voorverwarmer is, ik las dat jij kon zien dat hij nog maar 1x aan was geweest. Hoe monitor jij dat?
[ Voor 6% gewijzigd door laurens0619 op 06-02-2023 15:53 ]
CISSP! Drop your encryption keys!
Dat zal inderdaad de voorverwarmer zijn. Maar wordt die bij een E400 niet modulerend aangestuurd? In dat geval ben je er mooi klaar mee, want dan zou je bij temperaturen onder een graad of 4 permanent die 1.8 kW aan hebben staan....laurens0619 schreef op maandag 6 februari 2023 @ 15:51:
Welke pieke qua stroomverbruik kun je verwachten bij WTW unit?
Ik heb een Zehnder comfoair e400 en heb wel eens vaker groepen aan/uit gezet en was altijd rond de 24 watt.
Nu had ik alleen net een verbruik van 1800watt oid
Geen idee of die dat structureel doet maar ik wist niet eens dat die het kon. Ik was toevallig bezig met Warmtepomp en het viel mij op dat ik nog 1800 watt pakte terwijl alles uit stond. Pas toen ik de stekker van de WTW eruit trok zakte het verbruik naar negatief (panelen).
Toen ik de stekker er terug in deed was het hoge verbruik weg en ging die weer op zn normale 25 watt.
Bij mijn Q-serie wordt die verwarmer gemoduleerd aangestuurd, en ook nog op veel lagere vermogens dan jouw 1.8 kW, volgens mij was het iets van 200 of 300W, en dan ook nog in korte piekjes.
Momenteel heb ik de warmtewisselaar vervangen door een enthalpiewisselaar, waardoor het verwarmingselement bijna niet meer gebruikt worden (pas ergens bij -10 oid).
WP: ME PUHZ-SW75YAA + ERSD-VM2D + EV-WP-TWS-1W 300; AC: ME MXZ-2F42VF + 2x MSZ-LN25VGV; PV: 14.08 kWp O/W + SMA STP 8.0; Vent: Zehnder Q600 ERV + Ubbink AirExcellent.
Ik heb een Shelly 1 pm om het energieverbruik te monitoren (en om de ventilatie op afstand uit te zetten als een vd buren aan het bbqen is bijvoorbeeld).laurens0619 schreef op maandag 6 februari 2023 @ 15:51:
Welke pieke qua stroomverbruik kun je verwachten bij WTW unit?
Ik heb een Zehnder comfoair e400 en heb wel eens vaker groepen aan/uit gezet en was altijd rond de 24 watt.
Nu had ik alleen net een verbruik van 1800watt oid
Geen idee of die dat structureel doet maar ik wist niet eens dat die het kon. Ik was toevallig bezig met Warmtepomp en het viel mij op dat ik nog 1800 watt pakte terwijl alles uit stond. Pas toen ik de stekker van de WTW eruit trok zakte het verbruik naar negatief (panelen).
Toen ik de stekker er terug in deed was het hoge verbruik weg en ging die weer op zn normale 25 watt.
Waardes uit het menu zijn dus ook van toen hij weer normaal verbruikte:
Waardes uit menu:
Temp buitenlucht: 9gr
Temp v verwarmer: 9gr
Temp toevoerlucht: 19.5gr
Temp retour: 21gr
Temp afvoer: 11gr
Toevoer fan: 182 m3/h (1399rpm)
AFvoer fan: 186m3/h (1452rpm)
Open haard modus actief: Ja
Standenschakelaar: aan
Voor verw. aan: ja
@roltor
mijn gok is dat het de voorverwarmer is, ik las dat jij kon zien dat hij nog maar 1x aan was geweest. Hoe monitor jij dat?
Dus die meet alleen het verbruik van de ventilatie.
Je kunt in het menu ook de temperatuur in de buizen zien, er zitten 4 sensoren in. 2 voor de warmtewisselaar en 2 erna. Volgens mij gaat de voorverwarmer aan als de retour vanuit huis naar buiten onder 0 komt, zodat de warmtewisselaar niet bevriest.
Het verbruik is hoog, ongeveer 1600W. En dan niet continu. Gelukkig komt het bijna niet voor (alleen als het hard vriest), dus voor nu laat ik het maar zo.
Ja maar sowieso gek aangezien het 9gr buiten is.Andrehj schreef op maandag 6 februari 2023 @ 17:48:
[...]
Dat zal inderdaad de voorverwarmer zijn. Maar wordt die bij een E400 niet modulerend aangestuurd? In dat geval ben je er mooi klaar mee, want dan zou je bij temperaturen onder een graad of 4 permanent die 1.8 kW aan hebben staan....
Bij mijn Q-serie wordt die verwarmer gemoduleerd aangestuurd, en ook nog op veel lagere vermogens dan jouw 1.8 kW, volgens mij was het iets van 200 of 300W, en dan ook nog in korte piekjes.
Momenteel heb ik de warmtewisselaar vervangen door een enthalpiewisselaar, waardoor het verwarmingselement bijna niet meer gebruikt worden (pas ergens bij -10 oid).
Ik zal hem morgen eens in het menu uitzetten en kijken of ik effect zie
CISSP! Drop your encryption keys!
Hoeveel kWh per dag is dat ongeveer gemiddeld?roltor schreef op maandag 6 februari 2023 @ 18:34:
[...]
Ik heb een Shelly 1 pm om het energieverbruik te monitoren (en om de ventilatie op afstand uit te zetten als een vd buren aan het bbqen is bijvoorbeeld).
Dus die meet alleen het verbruik van de ventilatie.
Ik heb hem op 200 m3 per uur staan, dan verbruikt hij ongeveer 35 W. Bij 300 m3 per uur is dat 75 W.hneel schreef op dinsdag 7 februari 2023 @ 08:58:
[...]
Hoeveel kWh per dag is dat ongeveer gemiddeld?
Als de voorverwarmer aangaat is het verbruik 1,6 kW. Meestal uurtje aan, uurtje uit.
Toen het 2 jaar geleden zo koud was, was het verbruik wel meer dan 10 kWh op een dag, meer dan de warmtepomp
Dat waren maar een paar dagen, sindsdien ook nauwelijks voorgekomen gelukkig. Anders ga ik er serieus over denken om een raampje open te zetten en de warmtepomp wat meer te laten werken.
Kan dit wel? Wordt het nu geen type C WTW? Doordat de berging zich vult met koude buitenlucht via het rooster, dat op zijn beurt door de afzuigventiel het gesloten systeem in wordt gezogen.In de berging wordt een afzuigventiel voor ruimteventilatie geplaatst en in de deur aan de achterzijde van de berging wordt een ventilatie rooster aangebracht.
Ik lees niet dat deze ventilatie op de WTW wordt aangesloten, zou verwachten dat het een aparte ventilatie is. Is de berging gekoppeld aan het hoofdgebouw?Aubergine schreef op dinsdag 7 februari 2023 @ 18:56:
Wij kregen vandaag een mail dat onze berging wordt aangesloten op de WTW in ons nieuwbouwproject. Hier is sprake van type D WTW.
[...]
Kan dit wel? Wordt het nu geen type C WTW? Doordat de berging zich vult met koude buitenlucht via het rooster, dat op zijn beurt door de afzuigventiel het gesloten systeem in wordt gezogen.
De conclusie van de afgelopen maanden: als het niet kan zoals het moet, moet het maar zoals het kan. In eerste instantie heb ik Ventilatieland een advies laten maken. Dat is conform bouwbesluit en dus volstrekt onbruikbaar voor een oud huis (boerderij uit 1872, wel bijna herbouwd rond 1980). We hebben een grote huiskamer/keuken (95 mtr2) dus het advies zegt zes ventielen in en zes uit op de begane grond en drie inblaas en twee uitblaas op de eerste. De enige plek voor de unit is op de vliering in de nok van het huis, dus om de begane grond te bereiken met 270 m3/uur moet ik met hele grote kanalen of met heel veel kanalen door het hele huis. Onmogelijk. We zijn maar met zn tweeen en het huis is qua slaapkamers geschikt voor vier personen. Dus toen maar gerekend met 35 m2 per persoon en dat wordt al wat praktischer. Toen eerst maar eens een CO2 meter opgehangen in de huiskamer. Daar schommelt de CO2 waarde tussen de 450 en 650, en de vochtigheid is gemiddeld 47% dus waarom eigenlijk al die moeite. Nu ga ik nog wel wat na-isoleren, maar echt dicht krijg je zo'n oud huis nauwelijks. Maar op de eerste verdieping wil ik de simpele buisventilator van de badkamer wel vervangen.
Dus besloten: op de eerste (slaap/badkamer) verdieping vervang ik de ventilator door een WTW unit met 2* 50 m3/u uit in de badkamer en 2* 50 m3/u inblaas op twee slaapkamers. De derde slaapkamer is logeerkamer die evt. later ook een inblaasventiel kan krijgen en dan moeten de ventielen in de badkamer wat verder open.
Op de begane grond doe ik even niets en evt. kan ik daar later een aparte unit in het keldertje plaatsen dat ongeveer in het midden van de ruimte zit, zodat ik zonder veel kanalen toch wel redelijk de benedenruimte kan bedienen.
Ik heb mn oog laten vallen op een Vent-Axia Kinetic FH. Die heeft met 320 m3/u wel veel overcapaciteit, maar heeft een geintegreerde vochtsensor en vooral hij is heel smal, zodat hij via de vlizotrap naar boven kan. Bovendien heeft hij de mogelijkheid om de kanalen aan de zijkant aan te sluiten en dat komt goed uit op die krappe vliering.
Vraag1: alle units eisen een wand van 200 kg/m2, maar met hout kom je daar nooit aan. Ik kan aan een spant een plaat van 4 cm dik maken (aanrechtblad dat ik nog heb, multiplex). Dat is volgens mij stijf genoeg en hij houdt die 18 kg echt wel, maar het is geen 200 kg/m2. Weet iemand waarom die eis er is?
Vraag2: Je moet toch incidenteel (enkele jaren) de kanalen van binnen schoonmaken, maar daar lees ik eigenlijk nooit over. Zijn er zaken waar je rekening mee moet houden bij de aanleg van de kanalen, of handigheidjes die het schoonmaken makkelijk maken? (Bijv. een 90 graden bocht aan het eind van een recht stuk kanaal uitvoeren als een T stuk, zodat je zonder veel moeite dat recht stuk kan bereiken.) Heeft iemand wel eens gedeeld hoe er schoongemaakt wordt en wat daar allemaal voor nodig is?
Die vliering is onverwarmd, dus ik moet geisoleerde kanalen gebruiken (rond 125 mm). Dan heb je de keuze tussen Ubbink Aerofoam en Thermoduct. De eerste is heel makkelijk en licht, de tweede is wat lastiger te verwerken maar veel steviger. Duur zijn ze beide, maar gelukkig heb ik maar een meter of 7 nodig. Zijn er bij jullie vooerkeuren voor de een of de ander, of zijn er nog andere opties?
2: de pro's gebruiken een borstel op flexibele slang om schoon te maken, als je niets geks doe gaat het.
Je hebt nu ventielen voor ~100 m3/uur ingetekend met een unit van 320, dat is wel erg weinig. Is er geen afzuigkanaal van de keuken en toilet beneden naar de zolder van de oude mechanische ventilatie? Je kan door de gang / trapgat lucht toevoegen en retour alleen via toilet / keuken.
Ik heb van vier bij vier balkjes een soort beun gebouwd waardoor de unit (Zehnder Q600) niet meer aan de muur hoeft te hangen. Dat gaat prima.ger356 schreef op woensdag 8 februari 2023 @ 18:38:
Vraag1: alle units eisen een wand van 200 kg/m2, maar met hout kom je daar nooit aan. Ik kan aan een spant een plaat van 4 cm dik maken (aanrechtblad dat ik nog heb, multiplex). Dat is volgens mij stijf genoeg en hij
WP: Mitsubishi Ecodan PUHZ-SHW112YAA, ERSC-VM2C, Procon ┃ PV: 4800Wp, SolarEdge SE5K, 15x JAM60S17/320, ZW 15º ┃ WTW: Zehnder Q600 ┃ SH: Home Assistant, Proxmox, Intel NUC 8i5 Mini
Erg prettig want dat is 1 van de eerste dingen die ik ter hand wil laten nemen door de aannemer.
Begin augustus 2022 besteld.
Dus bijna op de dag af 6 maanden.
Als het echt alleen gaat over trillingen, dan geloof ik het wel met 4 cm multiplex en ik heb nog wat van die dreunplaten liggen en dan plak ik die er wel op.w00key schreef op woensdag 8 februari 2023 @ 20:04:
1: dat is voor trilling en geluid. Hout is daar niet handig voor, mooie klankbord om je WTW door je hele huis te horen.
Bij de herbouw in de tachtiger jaren is echt alles eruit gesloopt. Het toilet en de keuken hebben een horizontaal pijpje naar de gevel op de begane grond. Die kleinere unit van Vent-Axia (220 m3/u) is bijna net zo duur en daar moet je volgens mij nog een externe vochtsensor bij kopen en dan is ie duurder dan de 320 m3/u unit. Maar inderdaad wel erg overgedimensioneerd.w00key schreef op woensdag 8 februari 2023 @ 20:04:
2:
Je hebt nu ventielen voor ~100 m3/uur ingetekend met een unit van 320, dat is wel erg weinig. Is er geen afzuigkanaal van de keuken en toilet beneden naar de zolder van de oude mechanische ventilatie? Je kan door de gang / trapgat lucht toevoegen en retour alleen via toilet / keuken.
Tenminste, zo staat het in de omschrijving van de fabrikant.
geen isolatie/dubbelwandig dus krijg je condens. niet bueno.Rzaan schreef op donderdag 9 februari 2023 @ 20:44:
Wie weet waarom deze dakdoorvoer van Renson alleen als afvoer gebruikt mag worden?
Tenminste, zo staat het in de omschrijving van de fabrikant.
[Afbeelding]
wat een geheim agent toch allemaal niet moet doen om incognito op zijn werk te verschijnen
De Q350 handleiding zegt:ger356 schreef op donderdag 9 februari 2023 @ 20:06:
[...]
Als het echt alleen gaat over trillingen, dan geloof ik het wel met 4 cm multiplex en ik heb nog wat van die dreunplaten liggen en dan plak ik die er wel op.
[...]
Bij de herbouw in de tachtiger jaren is echt alles eruit gesloopt. Het toilet en de keuken hebben een horizontaal pijpje naar de gevel op de begane grond. Die kleinere unit van Vent-Axia (220 m3/u) is bijna net zo duur en daar moet je volgens mij nog een externe vochtsensor bij kopen en dan is ie duurder dan de 320 m3/u unit. Maar inderdaad wel erg overgedimensioneerd.
Jammer dat er geen afvoer meer is naar boven, dan gaat dat niet.Gebruik het Zehnder montageframe op de vloer (leverbaar als optie) als de wanden een massa hebben van minder dan 200 kg/m2. Hiermee wordt contactgeluid zoveel mogelijk voorkomen.
Voor aanvoer is er dezelfde maar dan een maatje groter, de XLRzaan schreef op donderdag 9 februari 2023 @ 20:44:
Wie weet waarom deze dakdoorvoer van Renson alleen als afvoer gebruikt mag worden?
Tenminste, zo staat het in de omschrijving van de fabrikant.
[Afbeelding]
Ik dacht omdat het buitengedeelte zo klein is, dat het wel zou gaan.flippy schreef op donderdag 9 februari 2023 @ 20:45:
[...]
geen isolatie/dubbelwandig dus krijg je condens. niet bueno.
Dus als je er direct een geisoleerde buis overheen zou schuiven, dat wel ok kon zijn/
Heb je daar een link van?itsjohan schreef op donderdag 9 februari 2023 @ 20:57:
[...]
Voor aanvoer is er dezelfde maar dan een maatje groter, de XL
Ik krijg hem niet gevonden.
De letterlijke tekst op jouw link is: De Renson design dakdoorvoer werd ontworpen voor het optimaal afvoeren van ventilatielucht via het dak
Dus afvoer.
Verdomd ja!itsjohan schreef op donderdag 9 februari 2023 @ 21:07:
In de technische fiche (link op die pagina) zie je grafieken voor de aanvoer en afvoer van lucht, alleen bij de XL
Waarom zetten ze dit dan ook niet duidelijker in de omschrijving?
99% van de zoekers gaat die technische fiche niet lezen, als in de omschrijving alleen 'afvoer' staat.
@Andrehj en @Glenfiddich hadden vorig jaar ook een gesprek hierover en toen gaf @Glenfiddich ook aan dat de Renson alleen voor afvoer is.
nee, het gaat om de lucht die er doorheen gaat, niet hoe dat ding eruit ziet.Rzaan schreef op donderdag 9 februari 2023 @ 21:01:
[...]
Ik dacht omdat het buitengedeelte zo klein is, dat het wel zou gaan.
Dus als je er direct een geisoleerde buis overheen zou schuiven, dat wel ok kon zijn/
je moet een geisoleerde doorvoer hebben anders akrijg je condensvorming voor de plek waar je de buis erop schuift.
hou er rekening mee dat bij modellen zoals de renson je HEEL goed oplet dat zowel de aan als afvoer dezelfde kant opkijkt en op zelfde dakzijde komen anders ga je problemen met wind/luchtstroming krijgen. dat fannetje in de WTW gaat het niet winnen van een leuke zuidwester, of uberhaupt iets meer dan een straf briesje op de verkeerde doorvoer.
[ Voor 26% gewijzigd door flippy op 09-02-2023 21:17 ]
wat een geheim agent toch allemaal niet moet doen om incognito op zijn werk te verschijnen
Ik heb die dakdoorvoer, en het idee erachter is dat je van binnenuit de geïsoleerde venrilatiebuizen aansluit op de dakisolatie. Vanaf het dak steek je dan de dakdoorvoer in de geïsoleerde buizen. Zo heb je geen problemen met condens.flippy schreef op donderdag 9 februari 2023 @ 20:45:
geen isolatie/dubbelwandig dus krijg je condens. niet bueno.
Dit werkt echt prima.
WP: ME PUHZ-SW75YAA + ERSD-VM2D + EV-WP-TWS-1W 300; AC: ME MXZ-2F42VF + 2x MSZ-LN25VGV; PV: 14.08 kWp O/W + SMA STP 8.0; Vent: Zehnder Q600 ERV + Ubbink AirExcellent.
Ik gebruik de Renson ook voor aanvoer én afvoer hoor. Ik heb wel de XL.Rzaan schreef op donderdag 9 februari 2023 @ 21:12:
[...]
Verdomd ja!
Waarom zetten ze dit dan ook niet duidelijker in de omschrijving?
99% van de zoekers gaat die technische fiche niet lezen, als in de omschrijving alleen 'afvoer' staat.
@Andrehj en @Glenfiddich hadden vorig jaar ook een gesprek hierover en toen gaf @Glenfiddich ook aan dat de Renson alleen voor afvoer is.
Dat lees ik nu voor het eerst?flippy schreef op donderdag 9 februari 2023 @ 21:14:
hou er rekening mee dat bij modellen zoals de renson je HEEL goed oplet dat zowel de aan als afvoer dezelfde kant opkijkt en op zelfde dakzijde komen anders ga je problemen met wind/luchtstroming krijgen. dat fannetje in de WTW gaat het niet winnen van een leuke zuidwester, of uberhaupt iets meer dan een straf briesje op de verkeerde doorvoer.
Ik heb ze ook aan weerszijden. Net als @itsjohan hieronder op NO en ZW. Met wat stormachtig weer nog geen last van gehad, maar een echt enorme storm heb ik er nog niet mee meegemaakt.
[ Voor 38% gewijzigd door Glenfiddich op 09-02-2023 21:44 ]
Catch a smile out there!
Hier zit de aanvoer op NO en afvoer op ZW al een paar jaar. Heb er eigenlijk nooit bij stil gestaan dat dat een probleem zou kunnen zijn. hoe merk je dat? storm door de ventielen of gaat de WTW in storing of zo?flippy schreef op donderdag 9 februari 2023 @ 21:14:
[...]
hou er rekening mee dat bij modellen zoals de renson je HEEL goed oplet dat zowel de aan als afvoer dezelfde kant opkijkt en op zelfde dakzijde komen anders ga je problemen met wind/luchtstroming krijgen. dat fannetje in de WTW gaat het niet winnen van een leuke zuidwester, of uberhaupt iets meer dan een straf briesje op de verkeerde doorvoer.
Ha, dan zou ik hem maar zo eens dankzij jou kunnen hebben; komt in elk geval uit dit topic. Prima dingen hoor die Renson XL.Glenfiddich schreef op donderdag 9 februari 2023 @ 21:40:
[...]
Ik gebruik de Renson ook voor aanvoer én afvoer hoor. Ik heb wel de XL.
[ Voor 19% gewijzigd door itsjohan op 09-02-2023 21:42 ]
Dat blijkt in de praktijk erg mee te vallen. Hier zit de aanvoer in een noord-gevel, en de afvoer (een Renson XL) in een 45° dakvlak op het westen. Woning staat aan de zuidwest rand van de BBK vol op de wind. De WTW werkt met flow control en zal dus bij harde westenwind de afvoer ventilator harder laten werken. Ik monitor het stroomverbruik nauwkeurig, en heb dat nog nooit gezien.flippy schreef op donderdag 9 februari 2023 @ 21:14:.
hou er rekening mee dat bij modellen zoals de renson je HEEL goed oplet dat zowel de aan als afvoer dezelfde kant opkijkt en op zelfde dakzijde komen anders ga je problemen met wind/luchtstroming krijgen. dat fannetje in de WTW gaat het niet winnen van een leuke zuidwester, of uberhaupt iets meer dan een straf briesje op de verkeerde doorvoer.
Niks aan de hand dus. @Glenfiddich en @itsjohan
WP: ME PUHZ-SW75YAA + ERSD-VM2D + EV-WP-TWS-1W 300; AC: ME MXZ-2F42VF + 2x MSZ-LN25VGV; PV: 14.08 kWp O/W + SMA STP 8.0; Vent: Zehnder Q600 ERV + Ubbink AirExcellent.
Prima. Momenteel 42%. Wel gedaald vanaf 48% die we op 6 februari nog hadden.Luqq schreef op donderdag 9 februari 2023 @ 21:47:
Hoe doen de enthalpiewisselaars het hier op zo'n dag als vandaag? Hier nog geen, maar in nieuwe huis wel, maar 26% vanochtend in de huiskamer
WP: ME PUHZ-SW75YAA + ERSD-VM2D + EV-WP-TWS-1W 300; AC: ME MXZ-2F42VF + 2x MSZ-LN25VGV; PV: 14.08 kWp O/W + SMA STP 8.0; Vent: Zehnder Q600 ERV + Ubbink AirExcellent.
Scherp! Ik ging ervanuit dat het wel zou gebeuren. Zal het even navragen.Martin123t schreef op dinsdag 7 februari 2023 @ 19:29:
[...]
Ik lees niet dat deze ventilatie op de WTW wordt aangesloten, zou verwachten dat het een aparte ventilatie is. Is de berging gekoppeld aan het hoofdgebouw?
En de berging is niet gekoppeld aan het hoofdgebouw (zit er wel aan vast, maar geen deur oid).
Dank voor de verhelderende antwoorden.
Ik weet nu dankzij jullie dat ik met een gerust hart zo'n Renson XL dakdoorvoer kan kopen.
Ik ga er 2 kopen en waarschijnlijk in België.
Net onder de € 200 per stuk.
Scheelt al snel € 60 tot € 100 per stuk met de prijs in Nederland.
Kan ze ook gratis op laten sturen naar kennissen die vlak over de grens in Belgie wonen.
Ik heb ze een mailtje gestuurd met de vraag of ze ook naar Nederland versturen.itsjohan schreef op vrijdag 10 februari 2023 @ 10:23:
Ah, ja daar heb ik ze ook vandaan. Was toen netjes snel (en gratis) verzonden naar nl.
Maar dit is al geruststellend.
Ik ga eens kijken wat ze nog meer hebben voor mooie prijzen.
EDIT: groothandel.be stuurde me een bericht dat boven € 1.000 de verzending naar Nederland gratis is.
Daaronder kost het € 9,95.
Nog geen geld eigenlijk.
[ Voor 21% gewijzigd door Rzaan op 10-02-2023 10:43 ]
bedoel je dat in dit geval je een 180mm binnen diameter buis die aan de buitenkant geïsoleerd is er overheen schuift?Andrehj schreef op donderdag 9 februari 2023 @ 21:31:
[...]
Ik heb die dakdoorvoer, en het idee erachter is dat je van binnenuit de geïsoleerde venrilatiebuizen aansluit op de dakisolatie. Vanaf het dak steek je dan de dakdoorvoer in de geïsoleerde buizen. Zo heb je geen problemen met condens.
Dit werkt echt prima.
Momenteel is er op zolder enkel een afvoerventiel in het techniekhok (met rood aangegeven).
Wij willen van onze zolder een werkplek maken. Hiervoor leek het ons verstandig om op de groene locatie een aanvoerventiel te plaatsen (door de muur van het techniekhok). Door de muur is de enige optie want de kopersbegeleider wil niet aan een verlaagd plafond beginnen.
Is dit nou de meest handige locatie voor een aanvoerventiel? En is het überhaupt wel nodig? De trap naar de eerste verdieping is namelijk open daar zitten drie aanvoerventielen (een per kamer).
[ Voor 5% gewijzigd door Aubergine op 10-02-2023 10:58 ]
Inmiddels hangt er een Duco energy comfort 325 met CO2 sensor en vochtsensor. De duco schakelt op als er vocht in de kanalen wordt gemeten en/of de CO2 waardes te hoog worden. Toch ben ik nog niet helemaal tevreden. De Co2 sensor hangt namelijk op de grote 'ouder' slaapkamer maar we hebben ook nog 3 kids met een eigen kamer en een grote woonkamer waar regelmatig mensen zijn. Als de WTW overdag op de AUTO stand staat loopt de CO2 in huis op. Er is immers niemand op de slaapkamer.
Ik zou dit eenvoudig kunnen oplossen door nog 2 CO2 meters aan te schaffen om in de woonkamer en 1 kinderslaapkamer te hangen. Deze dingen zijn echter behoorlijk aan de prijs dus ik dacht zelf om overdag als er mensen thuis zijn de wtw op stand 2 te zetten zodat er voldoende frisse lucht is. In de avond en als er niemand thuis is kan deze op AUTO gezet worden. Als we 's avonds met z'n tweeen op de slaapkamer slapen toert de WTW op en is er ook voldoende frisse lucht in de slaapkamers van de kinderen.
Omdat ik zeker wilde weten of stand 2 voldoende zou ventileren en heb ik met de peak-meter de ventielen nagelopen. Hieruit blijken een aantal zaken:
-Op stand 2 haalt de WTW het gewenste debiet niet (80m3/h toevoer en 100m3/h afvoer). Dit lijkt me erg weinig.
- Zoals jullie zien is de toevoer een stuk lager dan de afvoer. Het systeem lijkt dus ook niet in balans.
Voordat ik contract opneem met de installateur ik benieuwd naar het volgende:
- Is 80m3h op stand 2 inderdaad weinig? Het systeem zou 325m3h kunnen doen. Is die 325 dan alleen toevoer of zowel toevoer als afvoer. Er zal het nodige verloren gaan door buizen, bochten, filters maar toch niet zoveel?
- Is er een eenvoudige manier om het systeem wat meer in balans te krijgen? Ik zou denken dat als ik een ventiel wat meer open zet alle lucht gewoon verdeeld wordt over de andere ventielen en de totale toevoer niet wijzigt.
Nee. Ik heb Zehnder Comfopipe+ gebruikt (met 43mm isolatiedikte). Die zijn binnenwerks 200 mm. Daar paste de buis van de Renson precies in. Volgens mij is die Renson dus buitenwerks 200 mm.Megalomania schreef op vrijdag 10 februari 2023 @ 10:34:
bedoel je dat in dit geval je een 180mm binnen diameter buis die aan de buitenkant geïsoleerd is er overheen schuift?
WP: ME PUHZ-SW75YAA + ERSD-VM2D + EV-WP-TWS-1W 300; AC: ME MXZ-2F42VF + 2x MSZ-LN25VGV; PV: 14.08 kWp O/W + SMA STP 8.0; Vent: Zehnder Q600 ERV + Ubbink AirExcellent.
Aha inderdaad de bovenkant is 204 zie ik nu.Andrehj schreef op vrijdag 10 februari 2023 @ 12:42:
[...]
Nee. Ik heb Zehnder Comfopipe+ gebruikt (met 43mm isolatiedikte). Die zijn binnenwerks 200 mm. Daar paste de buis van de Renson precies in. Volgens mij is die Renson dus buitenwerks 200 mm.
Ik heb de eerste 18cm pir plaat tot het dakbeschot maar je wil die geïsoleerde pijp tot aan het beschot laten lopen lijkt me.
Zoiets zat ik ook te denken, maar heb je dan niet 2 driehoekjes zonder isolatie / lucht precies bij je dakbeschot of lees ik de tekening niet goed?SkullboyNL schreef op vrijdag 10 februari 2023 @ 13:29:
Ik heb ook de Renson XL op het dak geplaatst. Ik heb ubbink buis gebruikt van 180 intern. Deze past precies over het verloop van de Renson en met een beetje masseer werk past die ook over de aansluiting op mijn Q350 (190mm). Ik heb 14cm pir tegen het dakbeschot daar heb ik een gat in gemaakt die net iets groter is dan uitwendig van de ubbink buis. Zo past de Ubbink buis precies om de Renson XL en verdwijnt deze in de Pir isolatie de ruimte die dan overblijft heb ik voorzien van een laagje pur en daarna afgeplakt met Aluminium tape zodat de damplaag intact blijft.
Die hoekje vallen eigenlijk al buiten het dakbeschot. Ik heb het even snel proberen te visualiseren.Megalomania schreef op vrijdag 10 februari 2023 @ 13:47:
[...]
Zoiets zat ik ook te denken, maar heb je dan niet 2 driehoekjes zonder isolatie / lucht precies bij je dakbeschot of lees ik de tekening niet goed?
[Afbeelding]
Rood: Dakpannen panlatten en dakbeschothout.
Blauw: PIR isolatie
Oranje: Buis
Let op: Dat stuk ø179 x ø204 is een losse adapter. Die ga je niet gebruiken als je pijpen van 200 hebt.Megalomania schreef op vrijdag 10 februari 2023 @ 13:15:
[...]
Aha inderdaad de bovenkant is 204 zie ik nu.
Ik heb de eerste 18cm pir plaat tot het dakbeschot maar je wil die geïsoleerde pijp tot aan het beschot laten lopen lijkt me.
[Afbeelding]
PS: ik heb nog anderhalve meter Comfopipe+ over. Stuur maar pm bij belangstelling.
[ Voor 7% gewijzigd door Andrehj op 10-02-2023 18:49 ]
WP: ME PUHZ-SW75YAA + ERSD-VM2D + EV-WP-TWS-1W 300; AC: ME MXZ-2F42VF + 2x MSZ-LN25VGV; PV: 14.08 kWp O/W + SMA STP 8.0; Vent: Zehnder Q600 ERV + Ubbink AirExcellent.
Weet je zeker dat je meter goed is? Op stand 2 zou de Duco op 50% van de maximale capaciteit moeten draaien. Je haalt bij de aanvoer ongeveer de helft. Dat betekent dat ofwel je meter niet goed werkt, je een fout maakt bij het omrekenen of dat de kanalen niet goed aangesloten zijn op het toestel waardoor er lucht lekt. Dat laatste had ik ook toen onze wtw vervangen werd. Eén slechte afdichting in de centrale toevoer scheelde zomaar 25m2 in het debiet.nieholste schreef op vrijdag 10 februari 2023 @ 11:55:
Hier in huis is vorig jaar de WTW vervangen. Er hing een oude AGPO die heel veel herrie maakte. CO2 metingen in huis lieten zien dat alleen bij de hoge stand de juiste waardes werden gehaald.
Inmiddels hangt er een Duco energy comfort 325 met CO2 sensor en vochtsensor. De duco schakelt op als er vocht in de kanalen wordt gemeten en/of de CO2 waardes te hoog worden. Toch ben ik nog niet helemaal tevreden. De Co2 sensor hangt namelijk op de grote 'ouder' slaapkamer maar we hebben ook nog 3 kids met een eigen kamer en een grote woonkamer waar regelmatig mensen zijn. Als de WTW overdag op de AUTO stand staat loopt de CO2 in huis op. Er is immers niemand op de slaapkamer.
Ik zou dit eenvoudig kunnen oplossen door nog 2 CO2 meters aan te schaffen om in de woonkamer en 1 kinderslaapkamer te hangen. Deze dingen zijn echter behoorlijk aan de prijs dus ik dacht zelf om overdag als er mensen thuis zijn de wtw op stand 2 te zetten zodat er voldoende frisse lucht is. In de avond en als er niemand thuis is kan deze op AUTO gezet worden. Als we 's avonds met z'n tweeen op de slaapkamer slapen toert de WTW op en is er ook voldoende frisse lucht in de slaapkamers van de kinderen.
Omdat ik zeker wilde weten of stand 2 voldoende zou ventileren en heb ik met de peak-meter de ventielen nagelopen. Hieruit blijken een aantal zaken:
-Op stand 2 haalt de WTW het gewenste debiet niet (80m3/h toevoer en 100m3/h afvoer). Dit lijkt me erg weinig.
- Zoals jullie zien is de toevoer een stuk lager dan de afvoer. Het systeem lijkt dus ook niet in balans.
Voordat ik contract opneem met de installateur ik benieuwd naar het volgende:
- Is 80m3h op stand 2 inderdaad weinig? Het systeem zou 325m3h kunnen doen. Is die 325 dan alleen toevoer of zowel toevoer als afvoer. Er zal het nodige verloren gaan door buizen, bochten, filters maar toch niet zoveel?
- Is er een eenvoudige manier om het systeem wat meer in balans te krijgen? Ik zou denken dat als ik een ventiel wat meer open zet alle lucht gewoon verdeeld wordt over de andere ventielen en de totale toevoer niet wijzigt.
Verder heeft hij een constante volumeregeling, dus zou hij vanzelf in balans moeten zijn. Onbalans duidt op vorstbeveiliging, dat zou nog kunnen met de temperaturen van de afgelopen week.
Alleen een co2 meter in één slaapkamer lijkt me inderdaad niet handig. Ik zou er nog eentje bijplaatsen in de woonkamer, ondanks de prijs. Je ventileert per slot van rekening niet voor niets vraaggestuurd.
Ik heb via km/h gemeten en deze waarden in de excel uit dit topic gezet. Ik heb ook de andere methode gebruikt (flow i.c.m. 1.623 ft2). Deze gaf vrijwel gelijke waarden aan. Ik denk dus dat ik correct meet.Vistajevski schreef op vrijdag 10 februari 2023 @ 16:57:
[...]
Weet je zeker dat je meter goed is? Op stand 2 zou de Duco op 50% van de maximale capaciteit moeten draaien. Je haalt bij de aanvoer ongeveer de helft. Dat betekent dat ofwel je meter niet goed werkt, je een fout maakt bij het omrekenen of dat de kanalen niet goed aangesloten zijn op het toestel waardoor er lucht lekt. Dat laatste had ik ook toen onze wtw vervangen werd. Eén slechte afdichting in de centrale toevoer scheelde zomaar 25m2 in het debiet.
Verder heeft hij een constante volumeregeling, dus zou hij vanzelf in balans moeten zijn. Onbalans duidt op vorstbeveiliging, dat zou nog kunnen met de temperaturen van de afgelopen week.
Alleen een co2 meter in één slaapkamer lijkt me inderdaad niet handig. Ik zou er nog eentje bijplaatsen in de woonkamer, ondanks de prijs. Je ventileert per slot van rekening niet voor niets vraaggestuurd.
Het toestel lijkt goed aan te zijn gesloten op de kanalen. Ik heb niet het idee dat er ergens lucht lekt. De kanalen zelf zijn 5 jaar geleden schoon gemaakt. Er kwam toen weinig/geen troep uit. Als ik de kanalen nu bekijk lijken die ook gewoon schoon te zijn.
Hoe werkt de constante volumeregeling? En hoe zorgt dit voor balans? Zou er altijd net zoveel toevoer als afvoer moeten zijn? De vorstbeveiliging zorgt inderdaad voor het onregelmatig draaien van het apparaat. Deze was niet actief toen ik de meting(en) deed.
Bij mijn woning is de aanvoer van buiten af destijds door de installateur zo aangesloten dat deze de lucht onder de pannen aanzuigt. Voordeel hiervan is dat de lucht altijd een paar graden warmer is dan de buitenlucht. Ik vraag me echter de laatste tijd af of dit de luchtstroom belemmert.
Het systeem is nu 18 jaar oud en heeft (lijkt in iedergeval) altijd goed gewerkt.
Het is een storkair WHR90 unit.
Zijn er meer mensen die de lucht zo aanzuigen?
Of dat een belemmering voor de flow is, hangt af van de ruimte tussen je pannen en je dak. Dus daar is zonder meer info niks over te zeggen.D-M schreef op vrijdag 10 februari 2023 @ 21:40:
Bij mijn woning is de aanvoer van buiten af destijds door de installateur zo aangesloten dat deze de lucht onder de pannen aanzuigt. Voordeel hiervan is dat de lucht altijd een paar graden warmer is dan de buitenlucht. Ik vraag me echter de laatste tijd af of dit de luchtstroom belemmert.
Maar: Veel belangrijker is het thermische verhaal:
De isolatiegraad van dakpannen is nagenoeg nul, dus die lucht is in de winter echt niet een paar graden warmer dan de buitenlucht.
Maar in de zomer, als de zon vol op het dak schijnt, is de lucht onder je pannen misschien wel 20 graden warmer dan de buitenlucht!
Dit is dus een bijzonder effectieve methode om je woning in de zomer extra op te warmen.
Niet zo'n goed idee dus. Kun je die aanvoer niet omleggen naar een gevel? Liefst een noord- of oostgevel.
WP: ME PUHZ-SW75YAA + ERSD-VM2D + EV-WP-TWS-1W 300; AC: ME MXZ-2F42VF + 2x MSZ-LN25VGV; PV: 14.08 kWp O/W + SMA STP 8.0; Vent: Zehnder Q600 ERV + Ubbink AirExcellent.
Het zit een beetje op de grens tussen decentrale en centrale WTW-ventilatie, maar de unit is in principe een systeem voor centrale WTW, dus toch maar in dit topic geplaatst.
Technisch is er op zijn opstelling nog wel het een en ander aan te merken (heeft ie zelf gelukkig ook goed door), maar het is een mooi initiatief, en het filmpje laat aardig zien waar je zoal tegenaan loopt als je zelf een WTW probeert te installeren.
WP: ME PUHZ-SW75YAA + ERSD-VM2D + EV-WP-TWS-1W 300; AC: ME MXZ-2F42VF + 2x MSZ-LN25VGV; PV: 14.08 kWp O/W + SMA STP 8.0; Vent: Zehnder Q600 ERV + Ubbink AirExcellent.
Is het mogelijk deze oude unit (was iets van itho met max 250 a 300 capaciteit) 1 op 1 te vervangen met een q350 of q450 die je stiller zou moeten zijn bij 200 a 250m3? De
Moet je verder nog iets doen? of is het gewoon oude unit loskoppelen en nieuwe terug en buizen aansluiten? Denk ik te simpel?
Als de aansluit diameters gelijk zijn op de unit zal een ander unit plaatsen eenvoudig kunnen. Wel rekening houden met de positie van in en uitblaas, dat is niet voor iedere unit gelijk en zal je evt wat om moeten leggen.xoror schreef op zondag 12 februari 2023 @ 08:23:
Bij een kennis is een hele oude wtw installatie actief. Deze maakt wel wel veel geluid als je probeert de vuistregel van 30m3 per per soon aan te houden. Dus bij 4 personen zou de woonkamer 120 m3 moeten krijgen. Echter toen we stand 2 naar 150 m3 hadden gezet hoorde je in de woonkamer gezoem. Nu is denk ik deze 150 bij de wtw nog niet genoeg, immers de slaapkamers moeten ook nog.
Is het mogelijk deze oude unit (was iets van itho met max 250 a 300 capaciteit) 1 op 1 te vervangen met een q350 of q450 die je stiller zou moeten zijn bij 200 a 250m3? De
Moet je verder nog iets doen? of is het gewoon oude unit loskoppelen en nieuwe terug en buizen aansluiten? Denk ik te simpel?
Wat geluid betreft, is het bestaande leidingwerk van voldoende diameter dat de luchtsnelheid niet te hoog wordt. En zitten er dempers tussen de wtw en de leidingen aan woning zijde?
Herrie komt van de unit en te hoge luchtsnelheid
Heb jij deze uitvoering?SkullboyNL schreef op vrijdag 10 februari 2023 @ 13:29:
Ik heb ook de Renson XL op het dak geplaatst.
Of deze?
Heb je een gewoon pannendak?
Heb je hem zelf geplaatst of heb je daar een bedrijf voor ingehuurd?
Ik zag een video en die nogal wat aan duidelijkheid te wensen over.
@Glenfiddich en @Andrehj Ik heb aan jullie eigenlijk dezelfde vragen.
gisteren is mijn aannemer geweest en ze beginnen al snel met de WTW.
Ik ga zelf de dakdoorvoeren kopen (zoals ik ook veel andere zaken in overleg met hem ga kopen)
[ Voor 14% gewijzigd door Rzaan op 12-02-2023 09:15 ]
Ik heb de onderste, met zo’n loodslab dus, en heb ze laten plaatsen. We hebben een pannendak. Zo’n Renson XL zat niet in hun eigen assortiment en ze vonden het prima dat ik ze zelf bestelde en dat zij ze plaatsten. Ze hebben daar twee uurtjes voor gerekend.Rzaan schreef op zondag 12 februari 2023 @ 09:02:
[...]
Heb jij deze uitvoering?
[Afbeelding]
Of deze?
[Afbeelding]
Heb je een gewoon pannendak?
Heb je hem zelf geplaatst of heb je daar een bedrijf voor ingehuurd?
Ik zag een video en die nogal wat aan duidelijkheid te wensen over.
@Glenfiddich en @Andrehj Ik heb aan jullie eigenlijk dezelfde vragen.
gisteren is mijn aannemer geweest en ze beginnen al snel met de WTW.
Ik ga zelf de dakdoorvoeren kopen (zoals ik ook veel andere zaken in overleg met hem ga kopen)
Catch a smile out there!
Waarom besloot je tot die met de loodslab?Glenfiddich schreef op zondag 12 februari 2023 @ 09:37:
[...]
Ik heb de onderste, met zo’n loodslab dus, en heb ze laten plaatsen. We hebben een pannendak. Zo’n Renson XL zat niet in hun eigen assortiment en ze vonden het prima dat ik ze zelf bestelde en dat zij ze plaatsten. Ze hebben daar twee uurtjes voor gerekend.
Heb je een afwijkende pannenmaat?
Of leek je die gewoon handiger?
Ik ben er nog niet uit wat de betere/handigere is voor mijn pannendak.
Nog 's wat gaan onderzoeken.
/f/image/YhsKuXyjSSVVSEi7bSBMHpOz.png?f=fotoalbum_large)