Allen bedankt voor jullie input!

Hier kan ik al zeker iets mee.
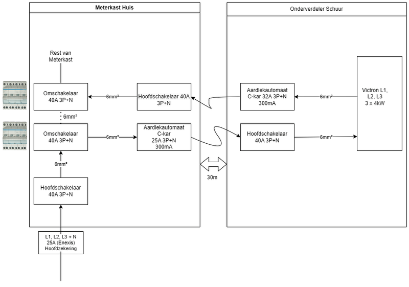
Ik heb mijn schema wat aangepast aan de hand van jullie input, en heb nummertjes toegevoegd

.
Ik zie dat er wat verwarring is over de 2 omschakelaars, ik zal even proberen dit zo goed mogelijk toe te lichten; dit betreft de Hager SFT440 I - O - II omschakelaars.
Wat betreft Omschakelaar 1, Deze krijgt input van hoofdschakelaar 1. Output 1 zal naar Omschakelaar 2 (zie stippellijntje) gaan en output 2 naar de schuur voor de Multis.
Wat betreft Omschakelaar 2, Deze krijgt input 1 van omschakelaar 1 en input 2 van de multis, output wordt Hoofdschakelaar 3.
Dit is een wellicht verwarrend maar door deze omschakelaars kan ik het hele victron systeem omzeilen en gewoon het grid gebruiken als source. Wel zo fijn en zo veilig lijkt me. En zoals @
John245 aangeeft, dit heb ik afgekeken van de documentatie van Victron

.
Waar ik nog niet zo zeker van ben, en velen met mij als ik het zo lees (ook andere fora) is bijvoorbeeld de B25A automaat. Dit was een Aardlekautomaat C25A 300mA maar heb deze ff aangepast naar een automaat omdat ik veel feedback kreeg dat de alamat alleen maar gezeik gaat opleveren, omdat alamats eigenlijk niet gebruikt worden bij omvormers vanwege hun capacitieve stroom. Echter, zoals te zien is zit achter deze automaat 30 meter kabel in de grond naar de schuur. Stel, ik of iemand anders steekt perongeluk een schep in de kabel dan wil ik dat deze automaat/alamat direct afschakelt. Wat is hier nu het beste?
Wat betreft Hoofdschakelaar 3; Deze lijkt mij wel handig om in de schuur te hebben hangen zodat, als ik ga hobbyen aan mijn installatie, ik niet eerst naar mijn meterkast hoef om de AC-in spannings vrij te hebben.
Voor afgaande automaat van de multis (ik had hier voorheen een aardlekautomaat C32A 300mA voor bedacht, maar toch aangepast adh van jullie input) zit ik eigenlijk met het zelfde probleem als de andere automaat mee in mijn maag.
Wat betreft Hoofdschakelaar 3; Hier had ik inderdaad niet goed over nagedacht, deze moet uiteraard achter omschakelaar 2 zitten.
Uiteraard worden de beiden hoofdschakelaars (1 en 3) in de huismeterkast goed gelabeld.
Dus, wat zouden jullie doen met deze automaten (of toch aardlekautomaten

) voor en na de multis?
Ik zal deze ook posten in het grote victron ontwerp topic (Dank @
MJ de Bruijn voor de tip)