Hebben ze dat later ook niet geschrapt vanwege de kritiek?Raem schreef op donderdag 4 juni 2020 @ 13:41:
[...]
Sony ging bij first party titels wel werken met een online pass. Die zat bij de game bijgeleverd, maar als je de game dan 2e hands overneemt (en de code is al gebruikt) moet je er een aanschaffen voor zo'n €10 om online te kunnen spelen.
Dat dit de devkit is, is algemeen bekend, maar het lijkt al met al toch wel veel moeite voor een devkit als je ook een grote doos kan gebruiken. De laatste keer dat er zoveel moeite in een devkit werd gestoken, was ook meteen die keer dat het uiteindelijke design er erg veel op leek.Geronimous schreef op donderdag 4 juni 2020 @ 14:55:
@drakiesoft Dat is het patent voor de devkit.
Ik zei al eens eerder tegen iemand dat met de nieuwste geruchten de PS5 wellicht toch wat overneemt van het design van de devkit...
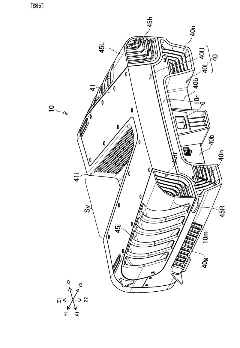
Wel interessant hoe ze de enorme koeler en de PSU in de 'vinnen' hebben verwerkt. Alleen zijn die 6 fans waarschijnlijk ook niet al te stil.

Ik mag hopen van niet. Echt ongelooflijk lelijk en Sony kennende zullen ze ook wel weer iets gaat verlichten.bram1984 schreef op donderdag 4 juni 2020 @ 14:59:
[...]
Dat dit de devkit is, is algemeen bekend, maar het lijkt al met al toch wel veel moeite voor een devkit als je ook een grote doos kan gebruiken. De laatste keer dat er zoveel moeite in een devkit werd gestoken, was ook meteen die keer dat het uiteindelijke design er erg veel op leek.
[Afbeelding]

Wie wil dit nou in zijn woonkamer? Misschien leuk als je 12 bent. Die gaat direct het kastje in van mijn meubel.
[ Voor 15% gewijzigd door NotSoSteady op 04-06-2020 15:07 ]
bram1984 schreef op donderdag 4 juni 2020 @ 14:50:
[...]
Jawel hoor! Graag in zwart met die blauwe verlichting. Echt een gruwelijk design vind ik het. Past prima in mijn meubel.
Xbox Series X: I ColoSsuZz I - PS5: I-ColoSsuZz-I
Niet dat ik weet. Ik heb voor Uncharted 3, TLOU, God of War en Ratchet & Clank in ieder geval die codes moeten gebruiken om online te kunnen spelen.NotSoSteady schreef op donderdag 4 juni 2020 @ 14:58:
[...]
Hebben ze dat later ook niet geschrapt vanwege de kritiek?

Ik vind dit nog het mooiste design van wat is langsgekomen. Van mij mag die wel zo worden.
Lijkt veelste veel op het design van de ps4 joh, mag wel iets vernieuwender. 
Al past deze wel onder mijn tv meubel ook belangrijk.
Al past deze wel onder mijn tv meubel ook belangrijk.
[ Voor 26% gewijzigd door Ambition88 op 04-06-2020 15:22 ]
Dat patent is trouwens vandaag gepubliceerd, lees ik net. Op de dag dat het event zou plaatsvinden. Toeval?
Aah de Playstation <Omgekeerde v>
Vind de dev-kit verre van een fraai ding maar als hij volledig zwart wordt heb ik dat liever dan een Wit zwarte combinatie
My thirsty wanted whiskey. But my hunger needed beans
Geen idee of het echt is maar het geeft wel antwoord op mijn vraag hoe de airflow geregeld kan worden in dat vreemde devkit ontwerp.
Maar zes fans
- Drie fans dedicated en temp gestuurd voor de CPU/GPU?
- Drie fans temp gestuurd voor de PSU/SSD (overkill, maarja symmetrie
Leuke tijden
Misschien is dat ook wel de reden waarom de Ps4 Pro een enorm kabaal maakt. Kunnen we onszelf alvast voorbereiden op 6x 60 mm fan op vol vermogen

My thirsty wanted whiskey. But my hunger needed beans
Vind ik ook duidelijk de mooiste tot nu toe!Raem schreef op donderdag 4 juni 2020 @ 15:14:
[Afbeelding]
Ik vind dit nog het mooiste design van wat is langsgekomen. Van mij mag die wel zo worden.
PSN: Aramius1810
Is er ook een link naar dat patent? Vaak zit er in die documenten een brief waarin een bedrijf vraagt om geheimhouding tot een specifieke datum.bram1984 schreef op donderdag 4 juni 2020 @ 15:27:
Dat patent is trouwens vandaag gepubliceerd, lees ik net. Op de dag dat het event zou plaatsvinden. Toeval?
LinkNotSoSteady schreef op donderdag 4 juni 2020 @ 15:44:
[...]
Is er ook een link naar dat patent? Vaak zit er in die documenten een brief waarin een bedrijf vraagt om geheimhouding tot een specifieke datum.
Pas je wel op, sommige hier kijken nog op een lage resolutie.
My thirsty wanted whiskey. But my hunger needed beans
Patent ingediend op 30 November 2018 en internationaal op 29 November 2019 (?), The plot thickens
[ Voor 3% gewijzigd door Caayn op 04-06-2020 16:09 ]
Ok geen plaatjes meer dan. Maar in de link staat een devkitplaatje met pijltjes hoe de airflow geregeld wordt. Van voor naar achteren dus.
Gezien de hoeveelheid moeite die gedaan is voor het futuristisch ontwerp, gezien alle ronding etc. Zou dat alleen maar voor de devkit zijn en niet ook een beetje voor het Final ontwerp? Want waarom niet gewoon een rechthoekige pc desktop model devkit?
Gezien de hoeveelheid moeite die gedaan is voor het futuristisch ontwerp, gezien alle ronding etc. Zou dat alleen maar voor de devkit zijn en niet ook een beetje voor het Final ontwerp? Want waarom niet gewoon een rechthoekige pc desktop model devkit?
Cerny maakte tijdens de deep dive een soort van grapjes over hoe luidruchtig de PS4 Pro soms kan zijn (ook die van hemzelf). Ik verwacht dus wel een relatief stille PS5.Caayn schreef op donderdag 4 juni 2020 @ 15:37:
[...]
Geen idee of het echt is maar het geeft wel antwoord op mijn vraag hoe de airflow geregeld kan worden in dat vreemde devkit ontwerp.
Maar zes fansGezien het een console formfactor is en ze waarschijnlijk geen 3x120mm naast elkaar zetten in verband met de grootte zullen dit wel kleine 80mm, of misschien nog kleiner (60mm?) maar dat wordt wel heel luidruchtig, naast elkaar zijn. Voor een devkit niet zo'n probleem maar voor een retail unit wordt dit heel interessant om te zien hoe Sony geluid/rpm/airflow balanceert met zes kleine fans als dit het ontwerp wordt.
- Drie fans dedicated en temp gestuurd voor de CPU/GPU?
- Drie fans temp gestuurd voor de PSU/SSD (overkill, maarja symmetrie, en met een lage RPM niet zo'n probleem)?
Leuke tijden
Klopt. Maar ik ben de idioot die nieuwsgierig is naar de "Hoe" en "Waarom" iets werktbram1984 schreef op donderdag 4 juni 2020 @ 16:14:
[...]
Cerny maakte tijdens de deep dive een soort van grapjes over hoe luidruchtig de PS4 Pro soms kan zijn (ook die van hemzelf). Ik verwacht dus wel een relatief stille PS5.
Juist bij het ontwerp vanuit het patent ben ik serieus heel benieuwd naar de antwoorden op de "Hoe" en "Waarom" werkt het. Juist omdat het afwijkt met zes fans en het hele semi-split design met het open midden stuk. Geen vragen die je als consument stelt maar meer vragen die mijn innerlijke tech nerd stelt
Ik bedoel er oprecht niks negatiefs mee.
Dat heb ik ook, ik zou bv graag een technische analyse zien van Anandtech over de PS5 ssd, aangezien die zo'n beetje compleet custom designed is. Vond hun analyse vorig jaar o.b.v. dat Cerny interview met Wired ook goed gedaan.Caayn schreef op donderdag 4 juni 2020 @ 16:26:
[...]
Klopt. Maar ik ben de idioot die nieuwsgierig is naar de "Hoe" en "Waarom" iets werkt
Juist bij het ontwerp vanuit het patent ben ik serieus heel benieuwd naar de antwoorden op de "Hoe" en "Waarom" werkt het. Juist omdat het afwijkt met zes fans en het hele semi-split design met het open midden stuk. Geen vragen die je als consument stelt maar meer vragen die mijn innerlijke tech nerd stelt
Ik bedoel er oprecht niks negatiefs mee.
Lijkt me dat ze de hitte zo ver mogelijk weg willen leiden van de componenten, en dan zo snel mogelijk uit het apparaat willen duwen. Hier zie je het idd beter Door dit ontwerp is de airflow heel 'kort'. De aangezogen lucht wordt eigenlijk meteen weer naar buiten geduwd.Caayn schreef op donderdag 4 juni 2020 @ 16:26:
[...]
Klopt. Maar ik ben de idioot die nieuwsgierig is naar de "Hoe" en "Waarom" iets werkt
Juist bij het ontwerp vanuit het patent ben ik serieus heel benieuwd naar de antwoorden op de "Hoe" en "Waarom" werkt het. Juist omdat het afwijkt met zes fans en het hele semi-split design met het open midden stuk. Geen vragen die je als consument stelt maar meer vragen die mijn innerlijke tech nerd stelt
Dan maak ik nu maar even niet de opmerking dat ik liever een zwarte Ps5 wilt mac schreef op donderdag 4 juni 2020 @ 16:38:
De PS5 wordt waarschijnlijk een android.![]()
[Afbeelding]
My thirsty wanted whiskey. But my hunger needed beans
#AllAndroidsMatterDonstil schreef op donderdag 4 juni 2020 @ 16:51:
[...]
Dan maak ik nu maar even niet de opmerking dat ik liever een zwarte Ps5 wil
Verwijderd
Kleine fans zijn meestal luidruchtig omdat ze ook een veel hoger RPM draaien..
Maargoed dit is toch niet het final ontwerp.
Waarom zo geheimzinnig doen over de console om dan vervolgens een patent online te gooien en dev kit fotos zijn ook al lang geleakt.
Dus 100% dat de echte PS5 er anders uit ziet.
zo zag bijvoorbeeld de XSX devkit eruit
:strip_exif()/f/image/vwXsTqkJGlki4tNfPYIgNSNs.jpg?f=fotoalbum_large)
Opvallend dat de ps5 devkit met die inham uitstekend is om te stapelen
Maargoed dit is toch niet het final ontwerp.
Waarom zo geheimzinnig doen over de console om dan vervolgens een patent online te gooien en dev kit fotos zijn ook al lang geleakt.
Dus 100% dat de echte PS5 er anders uit ziet.
zo zag bijvoorbeeld de XSX devkit eruit
:strip_exif()/f/image/vwXsTqkJGlki4tNfPYIgNSNs.jpg?f=fotoalbum_large)
Opvallend dat de ps5 devkit met die inham uitstekend is om te stapelen
[ Voor 105% gewijzigd door Verwijderd op 04-06-2020 17:14 ]
De xsx devkit was op basis van de one x kast en aangepaste one x moederbord. Wellicht ook met mindere specs.Verwijderd schreef op donderdag 4 juni 2020 @ 17:09:
Kleine fans zijn meestal luidruchtig omdat ze ook een veel hoger RPM draaien..
Maargoed dit is toch niet het final ontwerp.
Waarom zo geheimzinnig doen over de console om dan vervolgens een patent online te gooien en dev kit fotos zijn ook al lang geleakt.
Dus 100% dat de echte PS5 er anders uit ziet.
zo zag bijvoorbeeld de XSX devkit eruit
[Afbeelding]
Opvallend dat de ps5 devkit met die inham uitstekend is om te stapelen
Verwijderd
Hier nog een mooie ps4 devkit 
:strip_exif()/f/image/9fUMjBqI1DD6SxtWSVT5qKPr.jpg?f=fotoalbum_large)
Dus hopelijk gewoon een wat gestroomlijnder design
Ander onderwerp.
Er is een gerucht gaande dat de yield voor de PS5 APU minder zijn dan verwacht. Cerny had al aangeven dat ze clocks gebaseerd zijn op "Parametric Yield". Verwachting is dus skleinere hoveelheid goede chips dan verwacht.
Dit is wel in lijn met wat sony al heeft aangegeven dat ze minder consoles zullen produceren in het eerste jaar vergeleken met PS4.
:strip_exif()/f/image/9fUMjBqI1DD6SxtWSVT5qKPr.jpg?f=fotoalbum_large)
Dus hopelijk gewoon een wat gestroomlijnder design
Ander onderwerp.
Er is een gerucht gaande dat de yield voor de PS5 APU minder zijn dan verwacht. Cerny had al aangeven dat ze clocks gebaseerd zijn op "Parametric Yield". Verwachting is dus skleinere hoveelheid goede chips dan verwacht.
Dit is wel in lijn met wat sony al heeft aangegeven dat ze minder consoles zullen produceren in het eerste jaar vergeleken met PS4.
[ Voor 28% gewijzigd door Verwijderd op 04-06-2020 18:32 ]
Kom maar op met die devkit look! Misschien nog iets kleiner / strakker, maar van mij mag hij erop lijken hoor!bram1984 schreef op donderdag 4 juni 2020 @ 14:59:
[...]
Dat dit de devkit is, is algemeen bekend, maar het lijkt al met al toch wel veel moeite voor een devkit als je ook een grote doos kan gebruiken. De laatste keer dat er zoveel moeite in een devkit werd gestoken, was ook meteen die keer dat het uiteindelijke design er erg veel op leek.
[Afbeelding]
Hoewel ik de Series X ook wel mooi vind, mooier dan de ps5 devkit eigenlijk wel, maar als sony nu hetzelfde doet met zo'n torenontwerp zijn ze natuurlijk weer na-apers en on-origineel...
Maar dat het traditionele console ontwerp (platte doos) niet gaat werken ivm de koeling heb ik wel begrepen.
Goede Koeling > Traditioneel design.
🎶 Gets a little messy in heaven 🎶
Niks mis met zo'n retro jaren 60 design. Onlangs deze gekocht. Heeft ook zo'n soort retro look.
Hoogglans wit zou perfect zijn.
Hoogglans wit zou perfect zijn.
:no_upscale():strip_icc():fill(white):strip_exif()/f/image/l6tBAb4h6QqXL2E5255R2QgR.jpg?f=user_large)
Nouja, een retro-look zou ik zeker niet verkeerd vinden, maar bij de devkit-look vind ik dat allemaal net niet..
Doet me meer denken aan een Japanse Need for Speed straatracer met allerlei Tupperware opzetstukken
Doet me meer denken aan een Japanse Need for Speed straatracer met allerlei Tupperware opzetstukken

Verwijderd
Als ze wel dit ontwerp kiezen dan moet er ook minstens RGB op/in 
Maargoed we weten dat het een Dev kit is, en dat sony er een patent voor heeft zegt ook niet veel, heb gekkere sony patenten gezien zoals een companion robot die je gezelschap houd tijdens het gamen
https://pdfaiw.uspto.gov/...PGNR.%2526OS%3D%2526RS%3D
Maargoed we weten dat het een Dev kit is, en dat sony er een patent voor heeft zegt ook niet veel, heb gekkere sony patenten gezien zoals een companion robot die je gezelschap houd tijdens het gamen
https://pdfaiw.uspto.gov/...PGNR.%2526OS%3D%2526RS%3D
:no_upscale():strip_icc():fill(white):strip_exif()/f/image/URXyEwQDfu2uLYQeFzmkYkPB.jpg?f=user_large)

[ Voor 84% gewijzigd door Verwijderd op 04-06-2020 18:34 ]
Wtf. Dat is echt typisch only Sony. Ze houden van gekke gadgets zoals de aibo, Xperia ear, eyetoy en die Vaio duo.Verwijderd schreef op donderdag 4 juni 2020 @ 18:33:
Als ze wel dit ontwerp kiezen dan moet er ook minstens RGB op/in
Maargoed we weten dat het een Dev kit is, en dat sony er een patent voor heeft zegt ook niet veel, heb gekkere sony patenten gezien zoals een companion robot die je gezelschap houd tijdens het gamen
https://pdfaiw.uspto.gov/...PGNR.%2526OS%3D%2526RS%3D
[Afbeelding]![]()
Wat zou je willen weten wat ze niet al zelf hebben gedeeld? We weten eigenlijk al ontzettend veel.Trishul schreef op donderdag 4 juni 2020 @ 16:38:
[...]
Dat heb ik ook, ik zou bv graag een technische analyse zien van Anandtech over de PS5 ssd, aangezien die zo'n beetje compleet custom designed is. Vond hun analyse vorig jaar o.b.v. dat Cerny interview met Wired ook goed gedaan.
Volgens dat patent krijgen we dus een robot vriendje om mee te gamen en een PS5 met torendesign, als nr.10 de PS5 moet voorstellen.Verwijderd schreef op donderdag 4 juni 2020 @ 18:33:
Als ze wel dit ontwerp kiezen dan moet er ook minstens RGB op/in
Maargoed we weten dat het een Dev kit is, en dat sony er een patent voor heeft zegt ook niet veel, heb gekkere sony patenten gezien zoals een companion robot die je gezelschap houd tijdens het gamen
https://pdfaiw.uspto.gov/...PGNR.%2526OS%3D%2526RS%3D
[Afbeelding]![]()
Vraag me af of dit nou echt een serieus patent is of dat iemand van Sony een grap uit heeft gehaald, niet dat het toevallig op 1 april is ingediend ofzo...?
🎶 Gets a little messy in heaven 🎶
Dingen zoals de totstandkoming, welke hulp ze hebben ingeschakeld (volgens de geruchten hebben ze hulp gekregen van Marvell voor de controller), of ze gebruikmaken van DRAM cache, welke nand type/config (mlc,tlc of qlc?). En of ze de controller ook beschikbaar maken/verkopen aan derde partijen. Een 12-channel controller kan wel interessant zijn voor de nvme SSD markt.Paprika schreef op donderdag 4 juni 2020 @ 19:01:
[...]
Wat zou je willen weten wat ze niet al zelf hebben gedeeld? We weten eigenlijk al ontzettend veel.
Volgens de geruchten is ps5 presentatie op 12 juni...weet niet of het hier al gepost was. Dus volgende week vrijdag,donderdag is toch EA presentatie en dan hopelijk met BF6.
Ah ik zie al iemand had het al gepost
hopelijk is het waar.
Ah ik zie al iemand had het al gepost
[ Voor 16% gewijzigd door Amaze86 op 04-06-2020 19:18 ]
It's Tricky to rock a rhyme, to rock a rhyme that's right on time, It's Tricky... Tricky
Als ze slim zijn maken ze dat gewoon 1 dag van te voren bekend...
Gamertag: VAS taijyn….. Those who know not, that they are not.
- Chaoss
- Registratie: December 2000
- Laatst online: 21:51
:strip_icc():strip_exif()/u/17239/crop586cd04bb358c.jpeg?f=community)
Waarom? Ik krijg het idee dat Sony het heel groot wil aanpakken tot aan tv reclames toe. Als je veel aandacht wil dan moet je een paar dagen vantevoren toch wel de boel aankondigen en hypen.uchiha tijntje schreef op donderdag 4 juni 2020 @ 19:20:
Als ze slim zijn maken ze dat gewoon 1 dag van te voren bekend...
PSN: Wanderer200 | Switch: Wanderer
Marketing is niet zo makkelijk.Chaoss schreef op donderdag 4 juni 2020 @ 19:34:
[...]
Waarom? Ik krijg het idee dat Sony het heel groot wil aanpakken tot aan tv reclames toe. Als je veel aandacht wil dan moet je een paar dagen vantevoren toch wel de boel aankondigen en hypen.
- Chaoss
- Registratie: December 2000
- Laatst online: 21:51
:strip_icc():strip_exif()/u/17239/crop586cd04bb358c.jpeg?f=community)
Maar ook weer niet heel moeilijk
PSN: Wanderer200 | Switch: Wanderer
Ze moeten nu extra aan de bak wat de normale massa betreft. Henk en Ingrid zagen die reclames al eens eerder op tv en toen gebeurde er niets, die denken nu “we zien het wel als het ook echt gebeurd is”.
My thirsty wanted whiskey. But my hunger needed beans
Nah de volgende BF komt pas eind 2021, dus daar gaan ze nu niets over loslaten denk ik.. Meestal een half jaartje vantevoren, als het niet later is.Amaze86 schreef op donderdag 4 juni 2020 @ 19:17:
EA presentatie en dan hopelijk met BF6.
Ik denk dat ze sowieso eerst de shitstorm van BfV even wat willen laten bedaren voordat ze daar iets over gaan zeggen.
Ik denk ook dat ze genoeg andere spellen, vooral sport gaan laten zien, zoals FIFA en Madden enzo.. Misschien een Star Wars ding ook nog
Een diepgaand interview/artikel van Anandtech zou fantastisch zijnTrishul schreef op donderdag 4 juni 2020 @ 16:38:
[...]
Dat heb ik ook, ik zou bv graag een technische analyse zien van Anandtech over de PS5 ssd, aangezien die zo'n beetje compleet custom designed is. Vond hun analyse vorig jaar o.b.v. dat Cerny interview met Wired ook goed gedaan.
Waarom denk je dat een 12-channel controller interessant is voor de NVME SSD markt? Ik denk juist van niet. Met een 8 channel controller en ONFI 4.1 saturate je de NVME PCIe x4 4.0 connectie al. Plus bijkomend voordeel; hoe minder channels je hebt hoe makkelijker het is je maximale bandbreedte te behalen.Trishul schreef op donderdag 4 juni 2020 @ 19:09:
[...]
Dingen zoals de totstandkoming, welke hulp ze hebben ingeschakeld (volgens de geruchten hebben ze hulp gekregen van Marvell voor de controller), of ze gebruikmaken van DRAM cache, welke nand type/config (mlc,tlc of qlc?). En of ze de controller ook beschikbaar maken/verkopen aan derde partijen. Een 12-channel controller kan wel interessant zijn voor de nvme SSD markt.
Controllers met meer dan 8 channels, zoals de high-end 16 channel Marvell controllers, worden, pas interessant wanneer ze een PCIe x8 (of hoger) connectie hebben, imo.
Waarom? Om zichzelf wat meer lucht en flexibiliteit te geven? Niet zo moeilijk lijkt me? Met het recente uitstel is het wel handig om niet weer voor een gedongen feit te hoeven staan als het nog grimmiger gaat worden komende week.Chaoss schreef op donderdag 4 juni 2020 @ 19:34:
[...]
Waarom? Ik krijg het idee dat Sony het heel groot wil aanpakken tot aan tv reclames toe. Als je veel aandacht wil dan moet je een paar dagen vantevoren toch wel de boel aankondigen en hypen.
Gamertag: VAS taijyn….. Those who know not, that they are not.
- Chaoss
- Registratie: December 2000
- Laatst online: 21:51
:strip_icc():strip_exif()/u/17239/crop586cd04bb358c.jpeg?f=community)
Dan kunnen ze het beter gewoon niet aankondigen of een datum verder in de toekomst pakken. Ik denk niet dat ze ineens voor rustige aanpak gaan, dus het event gaat gewoon weer aangekondigd worden met veel reclames en uitingen in de media etc.uchiha tijntje schreef op donderdag 4 juni 2020 @ 20:26:
[...]
Waarom? Om zichzelf wat meer lucht en flexibiliteit te geven? Niet zo moeilijk lijkt me? Met het recente uitstel is het wel handig om niet weer voor een gedongen feit te hoeven staan als het nog grimmiger gaat worden komende week.
[ Voor 5% gewijzigd door Chaoss op 04-06-2020 20:43 ]
PSN: Wanderer200 | Switch: Wanderer
Dat zou ik best wel apart vinden. Ik wil geen nieuwe discussie voeren over politiek en hoe bedrijven daar mee om gaan. Maar ik neem aan dat hun toon anders zal zijn als ze binnen een week alsnog een dergelijk event houden. Als dat niet zo is dan had je gewoon net zo goed vandaag kunnen gaan.
Gamertag: VAS taijyn….. Those who know not, that they are not.
- Chaoss
- Registratie: December 2000
- Laatst online: 21:51
:strip_icc():strip_exif()/u/17239/crop586cd04bb358c.jpeg?f=community)
Volgende week vrijdag is niet binnen een week
maar is verder ook nergens op gebaseerd is maar een gerucht waar de bron volgens mij niet eens van bekend is. Voor herzfde is die presentatie pas eind juni.
PSN: Wanderer200 | Switch: Wanderer
Idd, x8 PCIE4 ssd's. Is trouwens bekend gemaakt of dat externe PCIE4 slot van de PS5 X4 of X8 lanes heeft? Ik ga er dan even vanuit dat binnen de apu de cpu en gpu niet communiceren via PCIE4 lanes.Caayn schreef op donderdag 4 juni 2020 @ 20:03:
[...]
Een diepgaand interview/artikel van Anandtech zou fantastisch zijn![]()
[...]
Waarom denk je dat een 12-channel controller interessant is voor de NVME SSD markt? Ik denk juist van niet. Met een 8 channel controller en ONFI 4.1 saturate je de NVME PCIe x4 4.0 connectie al. Plus bijkomend voordeel; hoe minder channels je hebt hoe makkelijker het is je maximale bandbreedte te behalen.
Controllers met meer dan 8 channels, zoals de high-end 16 channel Marvell controllers, worden, pas interessant wanneer ze een PCIe x8 (of hoger) connectie hebben, imo.
[ Voor 5% gewijzigd door Trishul op 04-06-2020 20:46 ]
Verwijderd
4 lanesTrishul schreef op donderdag 4 juni 2020 @ 20:43:
[...]
Idd, x8 PCIE4 ssd's. Is trouwens bekend gemaakt of dat externe PCIE4 slot van de PS5 X4 of X8 lanes heeft? Ik ga er dan even vanuit dat binnen de apu de cpu en gpu niet communiceren via PCIE4 lanes.
Is dat zo? Want dat zou onlogisch/ommogelijk(?) zijn aangezien je PS5 spellen er vanaf kunt draaien als je de geschikte kaarten zou inpluggen..
poor Leno schreef op donderdag 4 juni 2020 @ 20:46:
Nope er is daar nog niets over gezegd hoe of wat.
Ja wat is het nou?
My thirsty wanted whiskey. But my hunger needed beans
Nouja, ik krijg wel meer niet mee, dus kan dit ook gemist hebben
Ja niet dat ik het weet hoorpoor Leno schreef op donderdag 4 juni 2020 @ 20:56:
[...]
Nouja, ik krijg wel meer niet mee, dus kan dit ook gemist hebben
My thirsty wanted whiskey. But my hunger needed beans
Volgens mij was het bekend gemaakt dat externe opslag via een M.2 connector zal lopen wat 4 lanes max in zal houden.Trishul schreef op donderdag 4 juni 2020 @ 20:43:
[...]
Idd, x8 PCIE4 ssd's. Is trouwens bekend gemaakt of dat externe PCIE4 slot van de PS5 X4 of X8 lanes heeft? Ik ga er dan even vanuit dat binnen de apu de cpu en gpu niet communiceren via PCIE4 lanes.
PCie 4.0 x4 is max 8GB/s, meer dan genoeg dus
[ Voor 4% gewijzigd door Caayn op 04-06-2020 20:59 ]
Ja, (vooralsnog) klopt. Maar ik was even in de war dat het 'gewoon' pci4 m2 is. Ik zat met de interne in mn hoofd. Let maar niet op mijVerwijderd schreef op donderdag 4 juni 2020 @ 20:57:
M.2 is toch altijd 4 lanes....
Verwijderd
Zit nog even naar die gelekte fotos van de dev kit te kijken maar dat is echt een flink apparaat. Daar passen kwa hoogte denk ik wel gewoon 120mm fans in. Patent had het ook over het diagonaal plaatsen van de fans/heatsink zodat de airflow breder kan ?
:no_upscale():strip_icc():fill(white):strip_exif()/f/image/TS7ztVoMMwBqv1d2os0aDpVh.jpg?f=user_large)
al iets beter maar nah nog net niet voor mij.
en als dat ding straks wel 6 fans nodig heeft ... dat terwijl de concurent maar 1 fan heeft..
we gaan het zien
:no_upscale():strip_icc():fill(white):strip_exif()/f/image/TS7ztVoMMwBqv1d2os0aDpVh.jpg?f=user_large)
al iets beter maar nah nog net niet voor mij.
en als dat ding straks wel 6 fans nodig heeft ... dat terwijl de concurent maar 1 fan heeft..
we gaan het zien
[ Voor 43% gewijzigd door Verwijderd op 04-06-2020 21:22 ]
- Chaoss
- Registratie: December 2000
- Laatst online: 21:51
:strip_icc():strip_exif()/u/17239/crop586cd04bb358c.jpeg?f=community)
Meer fans is niet altijd slechter want die kunnen op een lager rpm draaien om dezelfde hoeveelheid lucht te verplaatsen.
PSN: Wanderer200 | Switch: Wanderer
6 fans van 30dBA maken toch nog steeds maar 30dBA aan geluid?Chaoss schreef op donderdag 4 juni 2020 @ 21:31:
Meer fans is niet altijd slechter want die kunnen op een lager rpm draaien om dezelfde hoeveelheid lucht te verplaatsen.
Kenny_026 schreef op donderdag 4 juni 2020 @ 21:36:
[...]
6 fans van 30dBA maken toch nog steeds maar 30dBA aan geluid?

2 fans = 33dB
4 fans = 36 dB
6 fans = 37.5 dB
[ Voor 11% gewijzigd door justifire op 04-06-2020 21:43 ]
- Just1fire's gameprofile - It's all fun and games, until someone loses an eye ⊙
3x 120mm naast elkaar, zelfs al ze schuin zouden staan, zou hem groter maken dan de Xbox Series X welke ~30cm op zijn grootste as is. 2x 120mm zou het ookal een aardig bakbeest maken.Verwijderd schreef op donderdag 4 juni 2020 @ 21:19:
Zit nog even naar die gelekte fotos van de dev kit te kijken maar dat is echt een flink apparaat. Daar passen kwa hoogte denk ik wel gewoon 120mm fans in. Patent had het ook over het diagonaal plaatsen van de fans/heatsink zodat de airflow breder kan ?
Koel blijft hij dan zeker met zoveel fan oppervlakte aan weerszijden
Verwijderd
kijk eens naar die groote van de controller vooral ook op de tafel. Of de bluray insert.Caayn schreef op donderdag 4 juni 2020 @ 22:10:
[...]
3x 120mm naast elkaar, zelfs al ze schuin zouden staan, zou hem groter maken dan de Xbox Series X welke ~30cm op zijn grootste as is. 2x 120mm zou het ookal een aardig bakbeest maken.
Koel blijft hij dan zeker met zoveel fan oppervlakte aan weerszijden
:no_upscale():strip_icc():fill(white):strip_exif()/f/image/X5heL5YCdg52WuKUKCewrZpe.jpg?f=user_large)
Dat zijn geen minifans.
[ Voor 3% gewijzigd door Verwijderd op 04-06-2020 22:22 ]
Devkit, zat nog met de retail variant in mijn hoofd. Sorry.Verwijderd schreef op donderdag 4 juni 2020 @ 22:14:
[...]
kijk eens naar die groote van de controller vooral ook op de tafel. Of de bluray insert.
[Afbeelding]
Dat zijn geen minifans.
Dat is inderdaad een monster. 120mm~140mm voor devkits en 60~80mm voor retail
Oh man ik ben echt zo allergisch voor dat cheap wannabe metaal zilver geverfd plastic op apparaten

Hahah ja precies dit en dan hetzelfde voor wit op electronica.poor Leno schreef op donderdag 4 juni 2020 @ 22:45:
Oh man ik ben echt zo allergisch voor dat cheap wannabe metaal zilver geverfd plastic op apparaten
My thirsty wanted whiskey. But my hunger needed beans
Ik heb vooral een probleem met die voorkant. Die hap eruit in het midden is niet mijn ding. Dat het een flinke unit gaat worden lijkt sowieso wel vast te staan.Verwijderd schreef op donderdag 4 juni 2020 @ 21:19:
Zit nog even naar die gelekte fotos van de dev kit te kijken maar dat is echt een flink apparaat. Daar passen kwa hoogte denk ik wel gewoon 120mm fans in. Patent had het ook over het diagonaal plaatsen van de fans/heatsink zodat de airflow breder kan ?
[Afbeelding]
al iets beter maar nah nog net niet voor mij.
en als dat ding straks wel 6 fans nodig heeft ... dat terwijl de concurent maar 1 fan heeft..
we gaan het zien
Er gaan geruchten over een PC port van Bloodborne en dat deze op het PS5 event aangekondigd gaat worden, samen met een remaster voor PS5. Zou lekker zijn. Of misschien een deel 2?
Wit icm electronica moeten ze gewoon verbieden.Donstil schreef op donderdag 4 juni 2020 @ 23:29:
[...]
Hahah ja precies dit en dan hetzelfde voor wit op electronica.
- Just1fire's gameprofile - It's all fun and games, until someone loses an eye ⊙
https://metro.co.uk/2020/...__twitter_impression=true
PS5 SSD was too fast for Unreal Engine 5 reveals Epic Games
Epic Games has revealed that the SSD for the PlayStation 5 was so fast they had to rewrite part of Unreal Engine 5 to take advantage of it.
The Unreal Engine 5 tech demo for the PlayStation 5 is the most substantial look so far at what the next generation consoles can offer, and developer Epic Games has not been slow to praise Sony’s hardware and in particular the superfast SSD that will drastically increase load times.
But what’s only become clear now is that the SSD was so fast – faster than even high-end equivalents for the PC – that Epic had to rewrite Unreal Engine 5 to take full advantage of it.
‘The ability to stream in content at extreme speeds enables developers to create denser and more detailed environments, changing how we think about streaming content. It’s so impactful that we’ve rewritten our core I/O subsystems for Unreal Engine with the PlayStation 5 in mind,’ Epic’s Nick Penwarden told VG247.
PS5 SSD was too fast for Unreal Engine 5 reveals Epic Games
Epic Games has revealed that the SSD for the PlayStation 5 was so fast they had to rewrite part of Unreal Engine 5 to take advantage of it.
The Unreal Engine 5 tech demo for the PlayStation 5 is the most substantial look so far at what the next generation consoles can offer, and developer Epic Games has not been slow to praise Sony’s hardware and in particular the superfast SSD that will drastically increase load times.
But what’s only become clear now is that the SSD was so fast – faster than even high-end equivalents for the PC – that Epic had to rewrite Unreal Engine 5 to take full advantage of it.
‘The ability to stream in content at extreme speeds enables developers to create denser and more detailed environments, changing how we think about streaming content. It’s so impactful that we’ve rewritten our core I/O subsystems for Unreal Engine with the PlayStation 5 in mind,’ Epic’s Nick Penwarden told VG247.
Wel benieuwd hoeveel 3rd party developers dan gebruik gaan maken van die snelheid.Cowboy_Henk schreef op vrijdag 5 juni 2020 @ 07:46:
https://metro.co.uk/2020/...__twitter_impression=true
PS5 SSD was too fast for Unreal Engine 5 reveals Epic Games
Epic Games has revealed that the SSD for the PlayStation 5 was so fast they had to rewrite part of Unreal Engine 5 to take advantage of it.
The Unreal Engine 5 tech demo for the PlayStation 5 is the most substantial look so far at what the next generation consoles can offer, and developer Epic Games has not been slow to praise Sony’s hardware and in particular the superfast SSD that will drastically increase load times.
But what’s only become clear now is that the SSD was so fast – faster than even high-end equivalents for the PC – that Epic had to rewrite Unreal Engine 5 to take full advantage of it.
‘The ability to stream in content at extreme speeds enables developers to create denser and more detailed environments, changing how we think about streaming content. It’s so impactful that we’ve rewritten our core I/O subsystems for Unreal Engine with the PlayStation 5 in mind,’ Epic’s Nick Penwarden told VG247.
Als dat allemaal weer extra programmeerwerk gaat kosten, besteden ze die tijd en moeite waarschijnlijk liever aan extra details en kwaliteit in hun games.
- Just1fire's gameprofile - It's all fun and games, until someone loses an eye ⊙
Dat is de reden dat ze een engine gebruiken. UE5 heeft de optimalisaties dus al, andere engines zullen volgen. De developers zelf hoeven daar dus weinig voor te doen, anders dan meer details in de wereld toe voegen.justifire schreef op vrijdag 5 juni 2020 @ 08:38:
[...]
Wel benieuwd hoeveel 3rd party developers dan gebruik gaan maken van die snelheid.
Als dat allemaal weer extra programmeerwerk gaat kosten, besteden ze die tijd en moeite waarschijnlijk liever aan extra details en kwaliteit in hun games.
Dat zou dan maar zo het project van Bluepoint kunnen zijn waar ze mee bezig zijn.bram1984 schreef op vrijdag 5 juni 2020 @ 07:25:
Er gaan geruchten over een PC port van Bloodborne en dat deze op het PS5 event aangekondigd gaat worden, samen met een remaster voor PS5. Zou lekker zijn. Of misschien een deel 2?
Die vraag hou je helaas altijd. Gros van het werk zal door de engine en het engine team gedaan worden maar het zal inderdaad wel wat werk/tijd vereisen van de "niet-engine" ontwikkelaars om het maximale eruit te halen.justifire schreef op vrijdag 5 juni 2020 @ 08:38:
[...]
Wel benieuwd hoeveel 3rd party developers dan gebruik gaan maken van die snelheid.
Als dat allemaal weer extra programmeerwerk gaat kosten, besteden ze die tijd en moeite waarschijnlijk liever aan extra details en kwaliteit in hun games.
Maar bekijk het van de andere kant. Hoe minder tijd je kwijt bent aan het optimaliseren om het gewenste resultaat te behalen hoe meer tijd je aan andere zaken kan besteden of hoe minder tijd en budget er in totaal nodig is.
Los van dat ik de i/o van de PS5 ook een fantastisch stukje nieuwe tech vind, evenals de mogelijkheden die dit met zich meebrengt is Metro UK nou niet echt hoogwaardige media en nu weer zo'n schreeuwerige click bait titel.Cowboy_Henk schreef op vrijdag 5 juni 2020 @ 07:46:
https://metro.co.uk/2020/...__twitter_impression=true
PS5 SSD was too fast for Unreal Engine 5 reveals Epic Games
De geruchten voor 12 juni worden wel steeds luider lijkt het. Ik hoop het echt, zou mooi zijn als het niet te lang gaat duren. Maar de gemoederen zijn nog steeds best hoog is de VS momenteel, dus ik denk dat de aankondiging dan pas maandag is
[ Voor 23% gewijzigd door Steven030 op 05-06-2020 09:08 ]
Toch hebben ze vaak wel nieuwtjes die andere media niet hebben.Steven030 schreef op vrijdag 5 juni 2020 @ 09:05:
[...]
Los van dat ik de i/o van de PS5 ook een fantastisch stukje nieuwe tech vind, evenals de mogelijkheden die dit met zich meebrengt is Metro UK nou niet echt hoogwaardige media en nu weer zo'n schreeuwerige click bait titel.
De geruchten voor 12 juni worden wel steeds luider lijkt het. Ik hoop het echt, zou mooi zijn als het niet te lang gaat duren. Maar de gemoederen zijn nog steeds best hoog is de VS momenteel, dus ik denk dat de aankondiging dan pas maandag is
Vaak eerste schetsen of boxart van games in ontwikkeling en zo
- Just1fire's gameprofile - It's all fun and games, until someone loses an eye ⊙
Daar dacht ik ook meteen aan. Dat betekent waarschijnlijk wel geen upgrade voor de huidige versie. Hopelijk is dat niet waar.Raem schreef op vrijdag 5 juni 2020 @ 09:00:
[...]
Dat zou dan maar zo het project van Bluepoint kunnen zijn waar ze mee bezig zijn.
Dit komt gewoon uit het interview met die Epic engineering VP. Die heb ik eerder al geplaatst in dit topic.Steven030 schreef op vrijdag 5 juni 2020 @ 09:05:
[...]
Los van dat ik de i/o van de PS5 ook een fantastisch stukje nieuwe tech vind, evenals de mogelijkheden die dit met zich meebrengt is Metro UK nou niet echt hoogwaardige media en nu weer zo'n schreeuwerige click bait titel.
De geruchten voor 12 juni worden wel steeds luider lijkt het. Ik hoop het echt, zou mooi zijn als het niet te lang gaat duren. Maar de gemoederen zijn nog steeds best hoog is de VS momenteel, dus ik denk dat de aankondiging dan pas maandag is
Oh oeps, dat wist ik niet., dan neem ik mijn woorden terug. De titel klonk alleen wat intenser dan die van gister, maar de boodschap blijft natuurlijk hetzelfde; dat ding wordt retesneljustifire schreef op vrijdag 5 juni 2020 @ 09:10:
[...]
Toch hebben ze vaak wel nieuwtjes die andere media niet hebben.
Vaak eerste schetsen of boxart van games in ontwikkeling en zo
Behalve dan dat de grote exclusives stuk voor stuk een eigen engine gebruiken.Erapaz schreef op vrijdag 5 juni 2020 @ 08:57:
[...]
Dat is de reden dat ze een engine gebruiken. UE5 heeft de optimalisaties dus al, andere engines zullen volgen. De developers zelf hoeven daar dus weinig voor te doen, anders dan meer details in de wereld toe voegen.
UE is juist heel populair voor het bouwen van cross-platform games.Paprika schreef op zaterdag 30 mei 2020 @ 10:30:
[...]
Naughty Dog gebruikt een eigen engine voor The Last of Us en Uncharted. Spiderman van Imsoniac draait tegen een oude engine die ze hebben moeten upgraden waar vroeger Sunset Overdrive op gebouwd is. God of War draait op een eigen engine van Santa Monica. Horizon gebruikt een eigen engine (Decima). Gran Turismo is eveneens een eigen engine die iedere keer wordt geuprade.
Misschien is het juist goed dat de game engines worden geoptimaliseerd voor PS5 (XSX), wat betreft snellere i/o speeds, in-plaats te blijven steken met hun engines op halve kracht.
De grote exclusives gebruiken meestal een eigen engine omdat ze maximaal van de specifieke console hardware willen profiteren. Die zullen dan ook een bewuste afweging maken of ze gebruik willen maken van de snellere streaming mogelijkheden.Paprika schreef op vrijdag 5 juni 2020 @ 09:24:
[...]
Behalve dan dat de grote exclusives stuk voor stuk een eigen engine gebruiken.
[...]
UE is juist heel populair voor het bouwen van cross-platform games.
Je mag er toch vanuit gaan dat de engines van first party studios júist geoptimaliseerd worden voor de PS5. Ja, dat kost dan meer tijd en geld voor meerdere games, omdat, zoals je al aangeeft, ze allemaal verschillende engines gebruiken. Maar lijkt mij dat Sony daar wel in wilt investeren.Paprika schreef op vrijdag 5 juni 2020 @ 09:24:
[...]
Behalve dan dat de grote exclusives stuk voor stuk een eigen engine gebruiken.
[...]
Vraag me af of xsx dezelfde werkwijze gebruikt als de ps5. Hoop persoonlijk van niet, zodat de exclusives next level worden.Recon24 schreef op vrijdag 5 juni 2020 @ 09:29:
Misschien is het juist goed dat de game engines worden geoptimaliseerd voor PS5 (XSX), wat betreft snellere i/o speeds, in-plaats te blijven steken met hun engines op halve kracht.
Het is aannemelijk dat Sony een team heeft dat hierbij helpt ja.Raem schreef op vrijdag 5 juni 2020 @ 09:32:
[...]
Maar lijkt mij dat Sony daar wel in wilt investeren.
en dat team is het ICE team (Initiative for a Common Engine) dat gevestigd is binnen de Naughty Dog studio. Dat is een team dat zich puur richt op engine tech en dit deelt met alle Sony 1st party studio's.Paprika schreef op vrijdag 5 juni 2020 @ 09:35:
[...]
Het is aannemelijk dat Sony een team heeft dat hierbij helpt ja.
Tja wat hebben we liever, een remake Demon Souls of een remaster Bloodborne.bram1984 schreef op vrijdag 5 juni 2020 @ 09:16:
[...]
Daar dacht ik ook meteen aan. Dat betekent waarschijnlijk wel geen upgrade voor de huidige versie. Hopelijk is dat niet waar.
Ik ga dan denk toch voor DS
Xbox Series X: I ColoSsuZz I - PS5: I-ColoSsuZz-I
No brainer.I ColoSsuZz I schreef op vrijdag 5 juni 2020 @ 09:43:
[...]
Tja wat hebben we liever, een remake Demon Souls of een remaster Bloodborne.
Ik ga dan denk toch voor DS
DS remake zou wel eens een system seller kunnen worden
- Just1fire's gameprofile - It's all fun and games, until someone loses an eye ⊙
Ik heb Demon's Souls nooit gespeeld, dus dat antwoord moet ik je verschuldigd blijven. Als het op Dark Souls lijkt, doe mij dan maar Bloodborne. Dark Souls is niet mijn game.I ColoSsuZz I schreef op vrijdag 5 juni 2020 @ 09:43:
[...]
Tja wat hebben we liever, een remake Demon Souls of een remaster Bloodborne.
Ik ga dan denk toch voor DS
Ik ben persoonlijk wel klaar met remake en remaster, laat ze die development power lekker gebruiken voor nieuwe games.
My thirsty wanted whiskey. But my hunger needed beans
Ik denk dat FROM niet bezig is met de remake. Dat doet een team dat daarin gespecialiseerd is, zoals Bluepoint.Donstil schreef op vrijdag 5 juni 2020 @ 09:50:
Ik ben persoonlijk wel klaar met remake en remaster, laat ze die development power lekker gebruiken voor nieuwe games.
Doe mij maar DS. Heb Demon's Souls ook nooit gespeeld, en Bloodborne kan ik onderhand wel dromenbram1984 schreef op vrijdag 5 juni 2020 @ 09:50:
[...]
Ik heb Demon's Souls nooit gespeeld, dus dat antwoord moet ik je verschuldigd blijven. Als het op Dark Souls lijkt, doe mij dan maar Bloodborne. Dark Souls is niet mijn game.
Eens! Maar een goede remake zoals RE2 was vind ik prima! En voor FromSoftware games maak ik wel uitzondering!Donstil schreef op vrijdag 5 juni 2020 @ 09:50:
Ik ben persoonlijk wel klaar met remake en remaster, laat ze die development power lekker gebruiken voor nieuwe games.
Xbox Series X: I ColoSsuZz I - PS5: I-ColoSsuZz-I
Dit topic is gesloten.
Let op:
[font size=16]
In dit topic geen statusupdates van je bestelling, daarvoor is [PS5] Pre-order, bestellingen en levertijden
[/font]
Om een goede sfeer te behouden:
• Geen PS5 vs Xbox fanboy-discussies
• Discussieer op argumenten, NIET op de persoon
• Maak gebruik van de Topic-Report om slechte reacties te melden
[font size=16]
In dit topic geen statusupdates van je bestelling, daarvoor is [PS5] Pre-order, bestellingen en levertijden
[/font]
Om een goede sfeer te behouden:
• Geen PS5 vs Xbox fanboy-discussies
• Discussieer op argumenten, NIET op de persoon
• Maak gebruik van de Topic-Report om slechte reacties te melden